Radio Boulevard
Western Historic Radio Museum
 

Collins Radio Company

51J Series of Receivers - Part 2

51J "Oddities," 70E-15 "M" PTO vs "CR" PTO, BFO Inversions, Break-in Set ups,
Details on Common Problems, Freeing Stuck Trimmers, Restoration Tools,
Repairing the 70E-15 "M" PTO, Rebuilding the 51J-1 SN:652
Rebuilding a 51J-2 Receiver

Back to Part 1                   On to Part 3
 

by: Henry Rogers WA7YBS


51J-2 B&W Artwork from the Manual - 1950

 

PART 2

 

51J Series - Oddities

No receiver is perfect and the 51J Series receivers do have a few "oddities" that can cause user frustration during set-up and operation. The sloping top on all 51J receivers almost necessitates using some type of cabinet if you like to utilize the area on top of the receiver for various accessories. The Oldham coupler can cause some minor backlash issues in the tuning. The five "oddities" that cause the most problems are covered below. The PTO end-point error is probably the most serious issue but, luckily, it almost always only affects the R-388. The PTO serial numbers involve the R-388, 51J-3 and the 51J-4. The Break-in is a headache but only affects the R-388, 51J-3 and 51J-4. The BFO "inversion" will complicate selecting the proper upper or lower sideband and is a function of the front-end design so it affects all versions of the 51J receivers. The audio issues are integral to the 51J design and affect all versions on the 51J Series. The R-388, 51J-3 and J-4 might cross-modulate in the presence of a strong RF field when used with a large, non-resonant antenna.

The 70E-15 PTO and its Uncorrectable End-Point Errors

The R-388 was the first receiver to use the new 70E-15 PTO. Over the years, the 70E-15 has developed a deserved reputation of being difficult to adjust. The 70E-15 has to be dismounted to remove the screw-plug that covers the trimmer access hole and then a special "unlocking" adjustment tool is required. Nowadays, the 70E-15 will never meet its accuracy specification due to its uncorrectable end-point error. It has long been thought that the type or mix of ferrite used for the PTO core had aging problems that didn't show up immediately. But, just how long did it take for the uncorrectable end-point errors to develop? One clue would be Bill Orr's Ham Radio magazine article on the 70E-15 PTO and its EPE errors and how to correct them. That write-up was from December 1969, long after the R-388 contracts had ended and long after the last of the 51J-4 receivers had been built. It's very likely that the 70E-15 EPE problems really developed into serious problems around the late-1950s, long after the major quantities of R-388 had been already built (the last contract for R-388 receivers was a small one in 1962 but the majority of R-388 receivers were built from 1951 through 1953.) Collins acknowledged the 70E-15 EPE problems as early as 1959.

As it became apparent that something in the 70E-15 was causing an ever-increasing number of PTOs to develop uncorrectable end-point errors, meaning that the normal L trimmer adjustment had insufficient range to bring the PTO back into specification, the first thought was that the aging of an unstable mix used in the ferrite core was causing the problem. It should be pointed out that all types of Collins PTOs will change calibration over time and it was expected. That's why the L-trimmer was provided. It's probably also why the 70E-15 PTOs were "sealed in a vacuum" and why Collins urged that PTOs must be returned to Collins for calibration correction where the vacuum seal was the last step in the process before the corrected PTO was returned. However, the PTOs weren't returned to Collins very often and therefore most PTOs had their vacuum seal lost with the first adjustment correcting the EPE and thereafter the components inside, including the ferrite, were exposed to the air and moisture which could then "age" the PTO differently than Collins had anticipated.

I don't think that there ever were any changes made to the 70E-15 because by the time the uncorrectable EPE problem became apparent all major production of receivers that used that type of PTO had ceased. Collins probably realized that the problem wasn't something that developed quickly. It took about ten years for the ferrite aging and the uncorrectable EPE errors to even become noticed. While the ferrite core might develop the EPE problem just by aging, it seems that the operational environment, where the R-388 receivers were often turned on 24/7, could also have been an important part of the cause, perhaps accelerating the problem that had started the first time that the PTO was adjusted for EPE in the field with the removal of the L002 L-trimmer access plug allowing air to enter the PTO. Since the R-388 contracts were mostly completed and the 51J-4 production was slowing down by the time the excessive EPE problems became widely known, Collins certainly wouldn't have put too much time into analyzing a problem that didn't affect current production and really took about a decade to "show up" in out-of-production receivers. Collins did produce a write-up specifically on the 70E-15 PTO around 1959 but exactly what is covered in that document is currently unknown (I can't find it on the Internet or from the CCA. It's mentioned in a Hollow State Newsletter but apparently Dallas Lankford couldn't find a copy of it either.)

About the only research on the 70E-15 problem has been by collectors, starting with Bill Orr back in 1969. Orr's solution of removing one turn on the L-trimmer has been the "fix" necessary to return the 70E-15 to a somewhat useable accuracy. What I've noticed, although my examples are certainly limited, is that nearly all R-388 receivers (14 receivers examined) had excessive EPE and out of three 51J-4 receivers examined, none had uncorrectable EPE. With the 51J-4 being a civilian receiver it was much less likely to be operated 24/7 and therefore the heat-build up never happened. Also, a 51J-4 being civilian or commercial, probably never went through scheduled maintenance programs and probably never had the 70E-15 tampered with which may have preserved the vacuum environment much longer than the R-388 PTOs. The result being that the 70E-15 PTOs in 51J-4s is seldom found with excessive EPE that can't be corrected with just a standard adjustment of the L-trimmer. This means that nearly ALL R-388 receivers will have a 70E-15 PTO with excessive EPE due to the 24/7 operation of the receiver and/or vacuum loss. Of course, a point could be made that the R-390 and R-390A PTOs, the 70H-12, were designed to operate inside an oven and these PTOs are never found (okay,...very rarely found) with excessive EPE that can't be adjusted out. Collins could and did produce the 70H-12 for a heated environment so why would the 70E-15 be adversely affected by 24/7 heat build-up? The 70H-12 was "pressurized" with nitrogen, an almost inert gas, which might have had something to do with the longevity of the PTO calibration but, like the 70E-15, the first EPE adjustment releases the N2 and air enters the PTO (I've only found one 70H-12 that still had N2 pressure when I removed the plug to adjust the EPE - an excellent seal that lasted for decades - but still, the EPE needed a slight "touch-up" after those decades.) For the 70E-15, this again points to the combination of the ferrite core mix along the loss of vacuum and 24/7 operation accelerating the aging and, even then, a problem that really didn't develop for almost a decade.

The upshot is that ANY 70E-15 PTOs might be found with uncorrectable EPE problems but almost all of the "problem" PTOs will be found in R-388 receivers and only sometimes found in 51J-4 receivers.
NOTE: UPDATE - Nowadays, in 2025, with nearly 70 years of aging, even 51J-4 PTOs are commonly found with fairly high EPE which seems to add "ferrite aging" to the list of probable causes for the PTO EPE issues. It's not unusual for "M" PTOs to be found with >12kc of EPE today and "C.R." PTOs generally are found with 4kc to 8kc of EPE. However, if air contamination (loss of vacuum) is the root cause, then Collins was correct in their statement that accessing L002 to correct EPE was only a temporary fix and the PTO needed to be sent back to Collins as soon as possible for proper calibration and sealing (restoring the vacuum.) But, expecting any seal to last 70 years and maintain a vacuum is probably wishful-thinking.

The good news is Bill Orr's solution is a relatively easy "fix" for the excessive EPE problem found in R-388 receivers. But, be aware that it's not a perfect fix with the linearity and the adjustment range becoming compromised in the attempt for a better EPE. The good news is that ALL 51J-4 receivers have their 70E-15 PTO identified with a "CR" or "C.R." suffix added to the serial number. ALL R-388 receivers have their 70E-15 PTOs identified with a "M" prefix to the serial number. There are 70E-15 PTOs that don't have a prefix or a suffix on the serial number. These PTOs have been found in 51J-3 receivers and also much later as replacement spares. So, even if the PTO has been removed from a receiver, it's still possible to tell in which receiver the PTO was used. I don't believe there was any difference in the specs or the performance between the "M" and the "CR" PTOs or the PTOs without prefixes or suffixes. The letter suffixes and prefixes were only an identification that showed in which receiver that particular 70E-15 was installed.  >>>

R-388 "M" PTOs

1951 R-388 PTO with "M" prefix serial number

1953 R-388 SN:4991 PTO with "M" prefix SN


1953 contract R-388 (no data plate - break in sw) Late SN PTO with "M" prefix

51J-4 "CR" PTOs


PTO in 1960 51J-4 SN:4723 showing the "C.R." suffix


PTO in 1959 51J-4 SN:3805


PTO in 1956 51J-4 SN:1616   Note just "CR" not "C.R."

>>> Now, I've found R-388 receivers with the "M" PTO that haven't been worked on and didn't have an EPE that couldn't be adjusted to <1kc, but it's very rare (2 out of 14 receivers examined.) Nearly all R-388 receivers (that haven't had the PTO worked on) will have an end-point error greater than 8kc which is just beyond the compensation adjustment. Nearly all "M" PTOs that I've tested have been in the 8kc to 12kc area of EPE. The worst one I've ever tested was barely working and had an EPE of 30kc! The best 70E-15 I ever tested was a NOS spare that was found still in the original box. This PTO had no EPE! The best "in the receiver" 70E-15 had an EPE of only 3.5kc (R-388 Collins Mfg SN 9108.) The NOS PTO does seem to indicate that long-term heat from 24/7 operation is responsible for the change in the ferrite core that causes the "M" PTO EPE problems, not just aging. It's also possible that since the NOS PTO had never been adjusted, it was still a "sealed vacuum" environment and that slowed the aging of the ferrite. That's why I've never adjusted the PTO with the 3.5kc EPE,...perhaps the only reason the EPE is that low is because the L002 access plug has never been removed, so there's no internal contamination (just speculation, of course.) Another point, if your initial testing of the PTO shows, for example 3kc EPE,...you don't really know if it has been adjusted before and that's the best achievable EPE "as-is." So, testing and some L002 (EPE compensation trimmer inductor) adjusting will be required to determine the actual PTO condition. That is, if you want a frequency meter for a receiver.

70E-15 "M" and "C.R." and "no prefix/suffix" Serial Numbers - More Info and Production Discrepancies

70E-15 PTO Serial Numbers in General - First, I don't believe there was any difference in specifications or performance between the "M" or the "C.R." PTOs. One possible difference between the "M" and "C.R." PTOs was shown in the 51J-3 manual where in the parts list it's shown that the "military PTO" was equipped with 5749 tubes and the "civilian PTO" was equipped with 6BA6 tubes. Of course, all of the PTO labels indicate 6BA6 tubes but many "M" PTOs in R-388s are found with 5749 tubes installed. But, other than possibly tubes, 70E-15 PTOs are all the same (and 5749 tubes are military versions of the 6BA6.) The letter suffixes and prefixes were just an indication of which receiver the PTO was installed in. It seems that the PTO label was probably serialized and installed during the calibration of the PTO which when complete was then put into stock as either a "M" type for R-388 receivers or a "C.R." type for 51J-4 receivers. Since there appears to have been at least two different serial number rosters used, that seems to indicate that "M" and "C.R." PTOs were stocked separately. On some examples it appears that the "M" or the "C.R." was added later (especially noticeable on many "C.R." examples since the suffix letters always appear much smaller than the numbers.)

There is evidence that many PTO serial numbers didn't have either a prefix or suffix and just had numbers. Although there aren't many examples of the "no prefix/suffix" PTOs, it's possible that these PTOs were serialized from the same roster as the "M" PTOs and the "M" not applied if the PTO was going into a civilian receiver. The early "no prefix/suffix" PTOs have been found in 51J-3 receivers with PTO serial numbers of 945 and 5991 (SN:1999 a "tag-less" 51J-3 has a "C.R." suffix on the PTO SN 5487C.R.) Exactly when the use of the "CR" started to be added to non-military PTOs isn't known at this time but it was probably near the end of 51J-3 production since all 51J-4 PTOs use the "C.R." suffix.

The 70E-15 PTO serial numbers appear to be a sequential block of numbers within the "M" prefix and another sequential block of numbers within the "C.R." suffix units. All 70E-15 PTO serial numbers examined, so far, seem to show an ever-increasing progression of the associated block numbers assigned as the receivers they are found in are obviously of later and later manufacture. The highest PTO "number" I've seen so far has been 11802. It's usually estimated that about 12,000 R-388 receivers were built and the quantity of "M" PTO serial numbers seem to agree with that estimate. The 70E-15 PTO "M-11254-C.R." is the highest serial number actually marked with a "M" prefix, seen so far (even though the "M" looks like an after-thought.) 

The 51J-3 seems to have generally used the 70E-15 with "no prefix/suffix" serial numbers, the 51J-4 always used the "C.R." PTO and all R-388 receivers have "M" PTOs installed. The 51J-4 PTO serial numbers start at around 1500 but that could just be when Collins started putting "C.R." on the "no prefix/suffix" PTOs. However, there is a 51J-3 PTO with a SN of 5991 with no prefix or suffix. But, the 1959 51J-4 SN: 3805 has a PTO with the SN of 5572CR. All of these chronological conflicts imply that the PTO serial numbering system wasn't consistent and probably changed often. 

PTOs that were serialized from the "M" roster would be part of the 11,000+ PTOs used in R-388. The "C.R." PTOs should account for about 7500 PTOs installed in the 51J-4 production (with PTO SNs ranging from 1500C.R. to 9000C.R.) Then there are the no prefix/suffix that probably account for about 1500 early 70E-15 PTOs. This amount of PTOs is approximately equal to the estimated R-388/51J-3 and 51J-4 production total, or about 20,000 receivers.


70E-15 SN: 11277
This PTO was installed in a "no data plate" possible 51J-3 that was converted into a 51J-4 with a 354A-1 kit but the PTO is obviously a replacement that dated from the early-1960s.

Very Late 70E-15 PTO with SN: 11277 - Sometime after the R-388 contracts ended and the last 51J-4 receiver was built, the "C.R." suffix and the "M" prefix were dropped entirely because any 70E-15 PTOs required or sold would be considered "spares," that is, a replacement 70E-15 PTO. One example of the "spares" 70E-15 PTO was found in a "51J-3 to 51J-4" conversion (installation of the 354A-1 Mechanical Filter Kit.) The serial number on this PTO is 11277. It's possible that the mechanical filter kit and the PTO were both purchased from Collins specifically for this conversion that probably was performed after the 51J-3 became an affordable receiver (mid-1960s.) Since the last R-388 contract was in 1962 and the last 51J-4 was around 1964, a good guess for this PTO would probably be about 1965. Since this PTO was a replacement and was "new" in 1965, it's interesting that this later 70E-15 PTO has a tested EPE of 7.5kc! This was totally unexpected! But it does seem to confirm that no changes were ever made to the type of ferrite used for the cores and something else, like excessive heat from 24/7 operation or loss of vacuum causing internal contamination, affects the majority of PTOs used in R-388 receivers but doesn't seem to affect 51J-4 receivers quite as much. The "conversion receiver" did have many indications of hours and hours of use meaning that the receiver was possibly used as a commercial monitor (post-conversion) where it was probably operated continuously (although I knew a ham that left his equipment powered up 24/7,...he didn't use it all the time,...but the equipment was always "on" and ready to be used. Of course, his vacuum tube equipment failures required constant maintenance.)
Three 70E-15 "M" prefix PTOs with a "C.R." suffix (photos below)  - These PTOs have serial numbers with the "M" prefix indicating it was installed in a R-388 and there's also a suffix of "C.R." that usually indicates it was for a civilian 51J-4.

SN: M8656CR is the earliest PTO I've seen with both the "M" prefix and the "CR" suffix. It was found in a 1953 contract R-388 with a SN: of 1713. The "M" certainly looks like it was added after the numerals. The "CR" is stamped which is odd.

The next PTO is SN: M-10816 C.R. and this PTO was found in a 1957 contract R-388. Notice that the chassis doesn't have the Iridite and MFP coating and is like the 51J-4 chassis.

The PTO SN: M11254C.R. is the highest "M" serial number I've seen that has the "M" prefix and the "C.R." suffix, so far. Unfortunately, only the PTO exists so the specific receiver it was removed from is unknown.

As to why it has both the "M" prefix AND the "C.R." suffix are on these PTOs? Unknown at this time.

NOTE: PTO SN: M11254C.R. was tested and found to have an EPE of 15kc! Nowadays, predicting which particular type of 70E-15 PTO will exhibit excessive EPE is probably impossible.


70E-15 PTO SN: M8656C.R. 1953 contract R-388 SN:1713


70E-15 PTO SN: M-10816 C.R. in a 1957 contract R-388


70E-15 PTO SN: M 11254 C.R.


1968 70E-15 PTO  SN:11802

An Even Later 70E-15 PTO - This NOS 70E-15 PTO turned up on eBay on June 14, 2023. What is important about this PTO is that the Tested card and QC record card were included (and photographed.) The PTO serial number is shown on the PTO as 11802. It's also shown on the cards as Mfg. No. 11802. What's very interesting is the date,...1068. This is a date code that indicates the 10th week of 1968, or from about the first week in March, 1968. The serial number 11802 is 525 units higher than 11277 shown above. This seems to confirm that 11277 is from the "mid-1960s." It's also interesting that 525 units earlier and the 70E-15 PTO was still using the old original style orange label but by 11802 a new style transparent label (or silk screening) was being used. Note the serial number is an ink-stamped number. Also note the Collins "Meatball" logo. Also note the prefix "MCN" that's part of the silk-screen label. The TESTED O.K. card has 11802 shown as the Mfg No. and the acceptance stamps have "C.R. TEST" (one would assume "Collins Radio Test.")

NOTE: One of these types of PTO (labels) is installed in 51J-4 SN:6977 but unfortunately the SN of the PTO isn't visible in the photograph. This 51J-4 also has S-line knobs installed. But several other higher serial number (>7000) with the typical orange Collins label have also been seen, which implies that SN:6977 probably had its original PTO replaced.


11802 Inspection Cards

The Argument for "M" and "C.R." Having Specific Serial Number Blocks - An interesting anomaly can be seen in the 1953 R-388 PTO sn: M3308 (shown above upper right) compared to the 1956 51J-4 PTO with sn: 3115C.R. (shown above lower right.) It appears the earlier receiver has a later PTO if just the "numbers" are used. It's interesting that the actual serial numbers of these two PTOs are separated by only 192 units and yet 3308 has the "M" prefix indicating it was for a R-388 and 3115 has the "C.R." suffix indicating it was for a 51J-4. It seems probable that "M" and "C.R." PTOs each had their own blocks of numbers. Another interesting comparison is between the 1953 R-388 with PTO sn M6897 and the 1960 51J-4 with PTO sn 6667CR. Again, this comparison seems to further indicate that "M" PTOs used their own block of numbers and "C.R." PTOs used their own block of numbers.

Although a third block of serial numbers for "no prefix/suffix" PTOs would seem unlikely, anything is possible with Collins and their methods of serializing. One thing Collins wasn't was consistent. They always seemed to be changing how they serialized their products and sometimes these changes were frequent within the same product. 

51J-3 - At the moment, I'm not sure about genuine 51J-3 receivers since I've never inspected a confirmed "absolutely no doubt" authentic one in person. The two confirmed 51J-3 serial numbers with PTO serial number information seem to indicate that the 51J-3 used a PTO that was serialized with just a number, no letter prefix or suffix. The two PTOs are serial numbers 945 and 5991. A third 51J-3 SN:1999 has a PTO SN: 5487C.R. These numbers might imply that the 51J-3 may have used the same PTO serial number roster as the "M" PTOs but didn't use the "M" prefix since that was exclusively for R-388 receivers. However, the range of PTO SNs used in known 51J-3 implies that those PTOs also had their own roster of serial numbers to draw from. One would think that if the 24/7 long-term heat is partly responsible for the excessive EPE problem in 70E-15 PTOs, then the 51J-3 PTO should behave like those found in the 51J-4. However, 51J-3 Collins Mfg SN:1999 PTO SN:5487C.R. EPE is quite large at 11kc.

The 70E-15 SN: 945 from the 51J-3 with Collins production number 6636 is shown to the right. IF the Collins Mfg SN on all R-388/51J-3 receivers had a relationship to Order Numbers on the R-388 series contracts then Collins SN:6636 would seem to be from mid-1952,...but, that's a lot of assumptions. 

More details on how to correct excessive EPE in the PTOs is in the section "Reworking the 70E-15 'M' PTOs" further down this page.


70E-15 PTO SN:945 from 51J-3  Collins Mfg SN: 6636

A 70E-15 in a 51J-2?

 

More 70E-15 Info - Here's a photo of a 51J-2 receiver with a 70E-15 PTO installed in place of the original 70E-7A PTO. Note a couple of interesting things about this 70E-15,...first, the serial number is 72. It must have been among the first ones made. Next, note that there isn't a "M" prefix or a "CR" prefix. The final interesting point is this particular 51J-2 receiver was a Collins Laboratory receiver. It has the light gray front panel. It also has the Collins asset number engraved on the upper right corner of the front panel. There's no question that Collins performed this upgrade of installing the 70E-15 PTO into this 51J-2 receiver. The serial number of the 51J-2 receiver is 650. Also note that the MC dial drum doesn't have the green striped amateur bands but who knows when that was replaced? And by whom?

70E-15 "M" PTO - Fixing the End-Point Error Problems

Just a reminder,...there aren't really any differences in the "M" or the "C.R." versions of the 70E-15. All 70E-15 PTOs are the same. The letter suffixes and prefixes are only indicators of which receiver the particular PTO was installed in. "M" was the identification for a 70E-15 installed in a R-388. "C.R." was the identification for a 70E-15 installed in a 51J-3 or 51J-4. No prefix of suffix were in early 51J-3 or spares from the mid-1960s.


Inside the 70E-15 PTO - SN: M11254 C.R.
The pink containers hold desiccant that starts out blue and turns pink as it absorbs moisture.
This PTO obviously lost its vacuum seal and had moisture ingression that contaminated the ferrite core. EPE on this PTO is 15kc!

Excessive End-Point Error in the "M" 70E-15 PTO - The 70E-15 PTO tunes from 3.0mc to 2.0mc in ten turns. There is a trimmer inductance (L002) provided to adjust the end-point error. The end-points on nearly every R-388 PTO are excessive and beyond the range of the trimmer inductor. Usually, if the EPE is greater than 6.0kc (typical is 8kc to 12kc) it will be out of the range of the adjustment. One important thing to observe is the PTO serial number. If the PTO has "M" as a prefix to the serial number, that PTO was for a R-388 and very likely that PTO will have excessive EPE problems - probably due to PTO vacuum loss and excessive heat build-up from 24/7 operations. However, if the PTO has "C.R." as the suffix to the serial number, that PTO was for the civilian 51J-4 and more than likely the EPE can be adjusted normally. Even though the "C.R." PTOs seem to be better, still most are going to require adjustment of the L002 trimmer if your goal is for perfect tracking. While the 51J-4 PTO may have 4kc to 6kc EPE which is correctable adjusting L002, a R-388 might have a >10kc EPE which isn't correctable with L002. All 70E-15 PTO end-point errors (EPE) are similar in that the tuned range, which should be exactly 1.000mc change in exactly ten turns of the PTO, has decreased. I've never encountered a 70E-15 PTO where the EPE actually has an increased range. The EPE issues are probably related to the type of the ferrite core material used in the 70E-15 in combination with 24/7 operations and loss of vacuum that most R-388s were subjected to. Since the ferrite has had about 70 years to age and since nearly all 70E-15 "M" PTOs have been "unsealed" for decades one would think that the ferrite degradation would have stabilized by now. Unfortunately, it appears that the unstable nature of the ferrite core is ongoing and nowadays C.R. versions used in 51J-4 receivers are commonly found with excessive EPE. Aging, a lack of a vacuum environment causing air contamination, former 24/7 use, heat,...on and on,...it all seems to have an effect on the ferrite core in the 70E-15 PTO. Perhaps the changes in the ferrite core might have slowed down a bit,...not likely but maybe it's possible,...then by modifying the trimmer inductor for a different range (but less span,) correcting the EPE for the ferrite core condition as it is now could be accomplished. Just how much you want a frequency meter versus the work-risk of PTO damage involved and will the end result actually benefit the overall receiver operation is a subjective decision.
Use a Digital Frequency Counter - When the R-388 was being produced, used and maintained there wasn't an easy way to directly measure the output frequency of the PTO. Much of the calibration and alignment procedures for any 51J receiver are burdened with cumbersome details on how to use the 100kc crystal calibrator and its harmonics or how to use heterodynes to assure proper frequency output, sometimes even another calibrated receiver was used. As far as that being "the good old days," just read through any 51J procedure and see how much of the procedure is dedicated to just setting up these implied reference signals for calibration. Nowadays we have Digital Frequency Counters that can measure the PTO output directly, and that measurement is accurate and instantaneous. I started using a DFC when doing R-390A PTOs and found the process is so direct and so easy that I've started using the same method to do the 70E-15 and the 70E-7A PTOs for the 51J Series. It makes setting up the KC dial synchronization quick, calibration of the PTO EPE is quick and easy (unless the PTO came out of a R-388) and the accuracy is the best. You'll have to read through the procedure to determine what needs to be accomplished and almost anything requiring frequency determination is about ten times easier if a DFC is used to measure the frequency directly. I sometimes use a 10X oscilloscope probe to isolate the measurement load from the circuit if I'm measuring an oscillator directly.
L002 Details - It was common to find the 51J-4 receivers with virtually no EPE in their "C.R." PTO but that's changing as ALL of the PTOs age more and more. Nowadays, it's fairly common that 51J-4s will be found with an EPE of about 4kc but that can usually be adjusted-out with the trimmer L002. If your R-388 "M" PTO has excessive EPE, that is >8kc EPE, correction will require removing one coil turn from the internal PTO trimmer coil L002. This requires removing the PTO from the receiver and then disassembling the PTO. When modifying the trimmer coil, be sure to remove only one turn. This coil only has four turns so one turn is quite a bit (also the coil wire is quite small at 29 gauge.) As can be seen in the photo to the right, access to L002 is very easy once the PTO shield has been removed. If more than one turn removal seems necessary in order to get the EPE in spec, you can perhaps remove another quarter to perhaps a half of a turn - but no more. The object of reducing the L002 inductance is to skew the adjustment range to where it will compensate for the ferrite changes. But, as the range is moved the span of adjustment is greatly reduced. Taking off 1.5 turns reduces L002 to just 2.5 turns and that might narrow the span of the adjustment range to the point where adjustment of the slug has no effect the EPE at all. Remember, the removal of one turn should be sufficient to move the compensation frequency but it severely narrows the adjustment range,...be careful and test "one turn" thoroughly before going any further.

Bill Orr wrote extensively about the R-388 and correcting the 70E-15 "M" PTO EPE problems in the form of an article in Ham Radio magazine in the December 1969 issue. This detailed article should be read before attempting to rework your first 70E-15 "M" PTO. Orr's article can be found online in PDF form on the Collins Collector Association website - www.collinsradio.org  Additionally, Dallas Lankford, in the Hollow State Newsletter, wrote several articles about the 70E-15 PTO and the "Orr fix" problems that he ran into. Basically, Lankford felt that Orr had just ignored the linearity of his modified 70E-15 PTOs since he doesn't mention it in his write-up. Lankford provides a lot of data and graphs on the 70E-15 PTO EPE range and on its linearity after the Orr fix,...more in the next section. The Hollow State Newsletters that relate to the R-388/51J receivers can be found on www.navy-radio.com website.


Close-up of L002 - Note the four turns of the coil

Linearity of the PTO Range - The linearity for the 1000kc range, or the 3.00mc to 2.00mc range, is determined by the adjustment of the "Corrector Mechanism" which is essentially a compressed "stack" of washers upon which an extension arm from the ferrite core rides. The slight "ups and downs" of the individual washers in the "stack" will slightly change the position of the ferrite core and thus create a "correction" for slight changes in the linearity as the ferrite core travels its 1000kc range. Normally, the original factory setting will be maintained if the EPE is corrected. Changing the "stack" isn't recommended unless you are very careful and have excellent test equipment for tracking the linearity changes. It can be tedious work that might easily lead to frustration. If you feel that the linearity is just too far out and you have the confidence to proceed then be sure to mark the stack for the beginning and the end of travel for the 1000kc range. Test the linearity and mark down where the corrections need to happen. Then set the PTO at that point and remove the cover to see where on the corrector arm is on the stack and where the adjustment is needed. Once you remove the PTO cover, all tracking is affected and to check adjustments requires putting the cover back on. The "back and forth" of putting the shield on and off is one of those repetitious necessities when performing linearity adjustments.

Back to the stack,...if other washers in other sections move while doing the correction,...that's a problem. As mentioned, the stack is under compression to hold adjustment and making changes requires loosening the compression screw just enough to adjust a washer where needed but not moving any of the other washers in other sections. The separators will allow moving just one washer if you're careful. The screw for loosening the stack is accessed through a hole on the back of the PTO rear circular support piece. Unless the linearity is totally "out" (which is not likely) it might be best to leave the stack alone unless you are used to performing delicate mechanical operations (probably why Orr didn't bring it up.) Always adjust the EPE first because most of the time that will correct (or reduce) any apparent linearity problems. NOTE: Dallas Lankford wrote extensively in the Hollow State Newsletter about the need to do the corrector stack linearity adjustment if the EPE was more than 4kc. Certainly, the farther out the EPE is the more the linearity will be affected. But, correct the EPE first. Then see where the linearity has gotten to. Lankford was trying to achieve the original specification of <750hz linearity error over the entire 1000kc range which is a pretty tight spec.


The Linearity "Washer Stack"

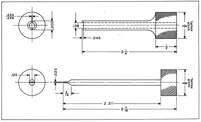
The Special Tool Required for the 70E-15 EPE Adjustments - The end-point adjustment is behind a hex-head plug that has to be removed and then there is a slotted locking nut that also has to be loosened before the trimmer inductor adjustment can be moved. The tool required to loosen the locking nut wasn't supplied with the receivers, but a drawing with dimensions was generally included in the manuals showing how to make the tool (the drawing to the right is from the 51J-4 manual.) The unlocking part of the tool is a small round cylinder with two small projecting tangs that will mate with slots in the locking nut. The blade screwdriver part of the tool fits down the barrel of the cylinder part of the unlocking tool to allow adjusting the L002 trimmer. The cylinder tool kept the locking nut from moving while the L002 trimmer was adjusted. After the EPE was "in spec" then the locking nut could be "snugged-up" but not over-tightened. I made my own tool out of steel thin wall tubing about 2.5" long and .20" in diameter with one end filed to create the two tangs necessary. Since it's made out of tubing, a small thin blade screwdriver fits down the barrel and can make the adjustments. Easy to make. The drawing to the right gives you an idea of how the tool works.

There are some restorers that have built special right-angle tools for accessing the locking nut and the trimmer inductor with the PTO still mounted in the receiver but these do require a lot patience to use. Unfortunately, over the past several decades, who knows if someone has tried to adjust the EPE without "unlocking" it and has gnarled the trimmer slot. If you have the PTO out of the receiver you can visually examine the trimmer slot and make sure it's not damaged. A dental mirror can be used to examine the trimmer if the PTO is installed in the receiver (access plug has to be removed - more problems.) Generally, if the PTO is the "M" version, it has to be removed from the receiver anyway for modification of the trimmer inductor for end-point correction. I find it easier to just remove the PTO, do the rework and do the entire EPE adjustment on the bench with a simple test jig.


70E-15 Adjustment Tools for L002 Trimmer EPE

An Easy PTO Test Jig - The test jig should be simple and easy to make. Orr's Ham Radio article shows his fixture using the KC dial but you don't really need to be that elaborate. Also, using the KC dial covers the access to L002, so the KC dial has to be dismounted from the PTO for each adjustment and then remounted for testing (it's not that difficult to dismount the KC dial for each L002 adjustment, really.) But, you can get by with a fixed reference index line on a clear plastic scale and a very narrow pointer. It's really all that's necessary. A very narrow pointer is attached to the PTO shaft. It can be made out of 22 gauge solid TC wire. The small transparent plastic index scale has a scribed "zero" line and is mounted to the PTO case using stand-offs and screws. Be sure mounting your small plastic index doesn't cover access to L002 EPE adjustment. Scribe several other lines on each side of "zero" that are about the width of the KC lines on the actual dial. This will allow you to accurately see if the end-point error adjustment is proceeding in the right direction. You'll have to count the ten turns the first time to be sure that the range is close to 2.000mc to 3.000mc but, after the first time, then just watching the output frequency is all that's necessary. How accurately you observe your pointer and the index lines on the plastic scale during the adjustments will determine your overall accuracy when the PTO is installed back in the receiver. You just need to determine a 1000kc change in frequency for exactly ten revolutions of the PTO shaft and a simple pointer and index does that. The PTO should tune exactly 3.000mc to 2.000mc in exactly ten turns of the PTO shaft and that should correlate to 0.00 to +00.0 (one complete turn) x 10 on the KC dial (when installed back in the receiver.) 

I use a bench power supply connected to the PTO wires with clip leads. Voltages required are +150vdc, 6.3vac and negative-chassis ground. A digital frequency counter monitors the PTO output using the PTO output coaxial cable. In this way, the PTO can be completely removed from the receiver. It makes any rework (like modifying L002 trimmer inductor) much easier since you don't have to have the harness connected to the receiver. When measuring the PTO output frequency for EPE adjustment be sure to have the cover in place as its proximity to the PTO circuitry greatly affects the output frequency.   >>>

>>>   Don't worry about the seals for the PTO cover. At the factory, when a PTO was completed, that is EPE adjusted and it was "ready to go," the PTO was heated, then, while still hot, the L002 hex-plug was installed. As the PTO cooled, it formed a slight vacuum inside which protected the components. But, the first time someone decided to adjust the EPE, air leaked in and the vacuum was lost. That's why Collins didn't want anyone working on their PTOs since, at Collins, after any adjustment or rework, the PTO again went through the process to create the slight vacuum inside. Collins claimed that correcting the EPE in the field was only for temporary repairs and the PTO needed to be sent back to Collins as soon as possible because the loss of vacuum would cause rapid deterioration of the internal components. Hmmm, hype? Maybe then, but the evidence is all to apparent nowadays that loss of vacuum was what Collins suspected as the cause of the PTO problems. Nowadays, nobody worries about the vacuum loss in the PTO because that certainly happened a long time ago anyway. The components inside have already "aged" and are certainly stable,...well, maybe. Besides, we all take excellent care of our receivers and the environment they are kept in is usually very clean and temperature-controlled,...isn't it? 

If all you need to do is to adjust the EPE (like on the 70E-15 "C.R." types) it's fairly easy to dismount the PTO, although you do have to lower the front panel and the KC dial has to be removed to access the three PTO mounting screws, but leave the PTO wiring connected to the receiver to supply the voltages. Attach (using a clip-lead) a shielded test cable to the PTO output coax and connect that to a digital frequency counter. The simple test jig fixed index should be mounted to the PTO and the pointer to the PTO shaft. Not too difficult and relatively fast if all you need to do is an EPE adjustment. Be sure to use the correct "unlocking adjustment tool" for the L002 trimmer.

For a real "quickie" test of the EPE, I don't even bother with the KC dial. I use a fine felt tip pen and mark an index line on the front mount frame and another index mark on the oldham coupler. I first set the PTO to be at 2.500mc output and then mark the index lines. Rotate the oldham coupler one turn, align the index marks and read the frequency output. Mark down the frequency. Go five turns taking readings at each turn with the index lines aligned. Go back to 2.500mc output and then go five turns in the other direction taking readings at each turn with the index lines aligned. You can now see the PTO linearity from 3.000mc to 2.000mc and you can calculate your EPE. If you need to adjust the trimmer inductor, it's easily accessed. This method isn't as accurate as using the KC dial but it's a good "quickie" test.

Reality Check,...The Necessity of Doing the L002 Mod? - After all that has been written about doing the Bill Orr one-turn removal on the trimmer L002, I have to wonder,...why? Is it worth it? Removing the PTO from the receiver is difficult and requires quite a bit of disassembly. Unsoldering the three wires and coax shield requires dealing with MFP coatings plus having a good soldering technique and quality tools. Getting into the PTO is pretty easy after that. But, careless or clumsy workmanship can lead to component damage. Sometimes removing one turn from L002 won't result in a perfect EPE and removing more turns will result in a PTO that can't be adjusted. Most 70E-15 PTOs have about 6kc to 8kc EPE error in 1000kc! That's an error of of 0.1% - not that bad. The 6kc error is correctable using the KC dial fiduciary. If you set up the PTO at 2.5mc and centered on the MC dial and 0.00 on the KC dial, the EPE is spread from the center to end is 3kc on each side of center which isn't bad and quite correctable with the dial fiduciary. Unless you're really an OCD-perfectionist or you use your 51J receiver as a frequency meter, the work involved along with the risk of potentially serious damage being the result of tampering with the internals of the 70E-15 along with the collateral damage from pulling it out of the receiver and then reinstalling it, you might really want to put the slight 0.1% error into perspective. I don't usually do the L002 trim because the error is usually easily correctable using the KC dial fiduciary (if the PTO is set up to 2.5mc output at center band.)

Try This PTO Set-up Before Digging into a 70E-15 - I suggest first trying this set up,...first,...don't dismount the PTO, it can be tested and aligned while mounted and operating in the receiver. Attach a digital frequency counter on the output of the PTO and set the PTO to exactly 2.500mc output (use a shielded cable or a 10X 'scope probe.) Then check to make sure the MC dial is in the exact center of its span (6.0mc, for example, it doesn't matter which MC Band the receiver is set to.) Then mechanically set the KC dial (loosen the Bristol set screws on the KC dial's hub) to exactly 0.00 (make sure the fiduciary index is straight-up) and then carefully snug-up the set screws. Rotate the KC dial a half-turn and then reset to exactly 0.00. Verify that the PTO output is still at 2.500mc exactly and the KC dial is exactly 0.00. Now perform the remaining front end alignment (Vari-IF and RF tracking.) This will result in the best possible tracking taking into account the PTO output will only be "dead-on" at the center of the MC dial and the error skews off as the dial is tuned from center in either direction. In this method, the noticeable EPE is mostly at the ends of the dial and it's actually only half of the total EPE since the reference is at the center of the PTO span (instead of "end-to-end.") This results in the best tracking where most of the listening is actually done.  

 

Other 51J Oddities

Break-in Operation for the R-388, 51J-3 and 51J-4 - What a Headache! - Perhaps the most inconvenient requirement for the R-388, 51J-3 or the 51J-4 is how to provide the Break-in function. Break-in requires an external +12vdc 200mA source that is switched "on" when in the "transmit" mode to isolate the receiver input and to mute the audio output. Inside the receiver, relay K101 is operated by the Break-in voltage and the relay contacts disconnect the antenna input line, ground the receiver input circuitry and also remove the voltage from the IF amplifier plates to mute the receiver. There is also a neon bulb as a protection device on the antenna line but this is mainly a static voltage drain and not intended to handle large amounts of RF energy. Break-in should be used when the receiver is paired with a transmitter and both are using the same antenna switched by an external T-R relay. Usually, the T-R relay does provide positive isolation and many Dow-Key T-R relays had an additional spring-loaded contact switch inside the receiver-side coaxial fitting barrel that further increased receiver isolation. These types of T-R relays afford protection when used with the Standby position for muting in the short term and it's fine for testing and preliminary set-ups but, ultimately, the permanent set-up should be using the Break-in with the T-R relay to provide a positive "double" disconnect of the antenna line and providing the grounding that protects the receiver input,...just in case there's a T-R relay failure and arcing happens inside the relay. 

IMPORTANT NOTE: The front panel STAND BY position does not actuate the Break-in relay. The Break-in relay can ONLY be operated by applying +12vdc Break-in voltage to pins 2 and 3 of the REMOTE terminal strip (pin 1 provides a ground for a cable shield.)

NOTE 1 - If you can't use an external +12vdc for Break-in: There are a couple of methods that provide the +12vdc "Break-in" within the receiver. Either a small power supply mounted under the chassis of the receiver or a voltage doubler circuit that runs off of the 6vac tube heater supply. Since < 200mA is required to operate the relay K101, very small components can be used for either power supply circuit.

NOTE 2 - For an easy external Break-in voltage - It's possible to use a +12vdc "wall-wart" type of power supply for the Break-in voltage. Use the T-R relay auxiliary contacts to switch the +12vdc. Or, if the "wall-wart" is RFI noisy, switch the AC to the "wall-wart" using the T-R relay auxiliary contacts.

NOTE 3 - The 51J-1 and 51J-2 have conventional stand-by provisions providing external relay connections that parallel the front panel STAND BY switch. The auxiliary contracts on the T-R relay can provide the remote Stand By function. There isn't any antenna coil input protection circuitry provided in these early version receivers.

BFO/IF "Inversion" - Selecting Upper or Lower Sideband with the 51J - The double conversion process in the 51J circuit involves mixing the incoming RF with a Crystal Oscillator (using fundamental and harmonic frequencies) to create Odd and Even Bands for the dual Variable IF that are in turn mixed with the PTO output. The PTO tunes from 3.0mc to 2.0mc but the Even Bands use the Variable IF that tunes from 1.5mc to 2.5mc. This requires using the formula PTO f - Vari IF = +500kc fixed IF (mid-range example 2500kc-2000kc=+500kc.) However, an Odd Band uses the Variable IF tuning 2.5mc to 3.5mc and this requires using the formula PTO f - Vari IF = -500kc fixed IF (mid-range example 2500kc-3000kc= -500kc.) The 500kc fixed IF signal is actually changing phase (180º) between Odd Bands and Even Bands. Since the BFO is a 500kc oscillator heterodyning with that 500kc IF, when the 500kc fixed IF phase changes, the BFO phase relationship inverts. This shows up, for example, as tuning in an USB 14.200mc SSB signal will require the BFO to be to the right of the center index line for proper demodulation. But, if an USB 15.035mc SSB signal is tuned in then the BFO must be to the left of the center index line for proper demodulation. Since there aren't any calibration index lines to comprise a scale for the BFO position, the 51J design never intended using the BFO for selecting a specific sideband nor in providing a "calibrated position" for the BFO (as with the later R-390 and R-390A.) It's really not that much of a problem but it's something that's noticed quickly when first operating a 51J receiver nowadays and tuning in SSB signals.
It's easy (if you use the receiver a lot) to remember that on Odd Bands USB reception will require the BFO index to be to the left of the center mark. If you're on an Even Band, USB will require the BFO index to be to the right of the center mark. Or,...since 80M and 40M are both Odd Bands and LSB is normally used there, have the BFO index to the right of the center mark for those two ham bands. But, 15M is also an Odd Band but USB is normally used there so the BFO index is set to the left of the center mark for 15M. Even Bands are 20M, 17M and 10M and all typically are USB so the BFO index is set to the right of the center mark for those ham bands. The upper portion of 10M is an Odd Band so BFO to the left for USB. It sounds confusing but once you've operated the receiver a few times on SSB with taking into account the BFO inversion between Odd and Even Bands, selecting the proper sideband is easy (see drawing to the right.)

IMPORTANT NOTE: You have to be sure that the BFO knob index is mounted correctly on the BFO shaft. Setting up the correct BFO knob position is covered in detail in any of the 51J receiver's alignment procedure. The basic set up is to first rotate the BFO knob one full turn clock-wise, then continuing C-W, set the BFO to the highest frequency (fully unmeshed C) then, without moving the BFO shaft, mount the BFO knob so its index is at 90º C-W from vertical. Then set the BFO index to vertical and align the BFO coil assembly adjustment to 500kc. With this setting, if the BFO is rotated from index-vertical to the right (or C-W) the BFO frequency will increase from 500kc. If the BFO is rotated from index-vertical to the left (or C-C-W) then the BFO frequency will decrease from 500kc.


BFO Position for Sideband Selection

Even Collins had a hard time with the Odd-Even Band changes and the relationship with the BFO operation. When the 51J was designed at the end of WWII, a BFO was only used for CW reception and, since a CW signal has no sidebands, the position of the BFO didn't matter as long as it provided a heterodyne. By the time the 51J-4 was introduced, SSB had been developed and was being promoted by Collins. The 51J-4 manual has a specific set of instructions for determining what Collins thought was the proper setting of the BFO for SSB signals when using the J-4. The procedure requires determining center frequency of a marker signal and then tuning below the f center for a carrier level drop of 18db and then adjusting the BFO CCW for zero beat and noting the knob's index position. The same procedure is again performed with by tuning above f center for an 18db drop and tuning the BFO CW for zero beat and noting the knob's index position. NOTE: It's strange that the Collins instructions actually states the signal levels and the signal drop as "3 S-units" and, of course, all of the 51J-4 receivers had Carrier Level meters that read in "db over" but Collins did provide the 18db level in parentheses. The instructions finish up by stating that if the SSB signal can't be demodulated with the BFO in the proper CCW position then rotate the BFO control to the proper CW position. In other words, there's no specification of either "upper" or "lower" sideband mentioned since obviously that changes depending on whether the band being used is Odd or Even, which isn't mentioned either. It must have become too convoluted to explain at a time when SSB transmissions were just becoming popular and just beginning to be heard on the air, so Collins avoided it altogether. It also seems strange that Collins (at the time) didn't mention the BFO inversions since this changing BFO relationship would have affected reception of RTTY FSK signals. The BFO position determines whether the RTTY FSK signal is going to be received "Mark high f" or "Mark low f." Of course, it depended on the type of RTTY TU. Those TUs that ran off of the IF and supplied their own BFO might not have been affected. However, some of the TUs were audio input types and relied on the receiver BFO. These would have definitely been affected by the Odd-Even BFO inversion but most RTTY audio TUs had the ability to invert the relationship, if necessary, for this very reason. Since the BFO inversions are a product of the Vari-IF and PTO relationship, they will be experienced with all versions of the 51J series. I guess it's just one of the 51J "oddities."

Communications-grade Audio, Loudspeakers and External Audio Amplifiers for the 51J Series - If you're expecting high fidelity audio from any of the 51J receivers, you're in for a disappointment. The initial intent of the receiver was communications and especially for receiving data-type transmissions. Communications-grade audio response was generally considered 300hz to 3000hz for voice transmissions. For CW or data, the audio bandwidth could be much narrower. Most military transmitters (and most amateur transmitters at the time) that were used for voice communications kept the audio response approximately from 300hz to 3000hz. This was to assure that the best intelligibility was available at the receiving-end. Voice transmitters, if their audio response was set up to favor the lower voice frequencies, would have to lower the audio gain level in the speech amp which in turn lowered level of modulation. The voice's low frequencies have a lot of "speech power" that would easily cause over-modulation. Most amateur and military voice transmitters were fairly low power and if they were set up with "bassy, low-modulation level" audio, the signal intelligibility would be lost and copy would be difficult, if not impossible. All 51J-1 and 51J-2 receivers have audio specification of 200hz to 2500hz at -6db down. Additionally, the 51J-1 and 51J-2 have a very narrow IF bandwidth of about 4kc at -6db. The R-388, 51J-3 and 51J-4 have audio specifications of 200hz at -3db down on the low end and 2500hz at -7db down on the high end with an IF bandwidth of about 6kc at -6db and 1.5 watts available audio power at less than 15% distortion. The 51J-4 widened the IF band width a bit more than that, using a 3pf IF coupling C where the R-388 used a 2pf IF coupling C, and added mechanical filters to the 500kc fixed-IF that actually determined the band width and created a steep-sided, flat topped bandwidth that, while great for selectivity, created serious audio issues in the AM mode using the 6kc mechanical filter. Certainly not impressive audio specs from any of the 51J Series,...especially if you're an audiophile. But, the 51J receivers are "communications receivers" and their audio specifications are appropriate for that type of end-use.

All of the advertising or the manuals never specified a particular matching speaker for any of the early 51J series of receivers. The 51J-1 and J-2 manuals provide dimensions of the intended loudspeaker and these dimensions describe the Collins 270G-1 (used an 8" loudspeaker.) The 51J-4 manual actually specifies the 270G-3 loudspeaker. The 270G-3 used a 10" loudspeaker. During early production there was a 270G-2 10" loudspeaker available. There is conflicting information out there (even from Collins) but it seems that the 270G-2 was identical to the 270G-3 with the exception of the three small vertically-spaced holes towards the front on each side of the cabinet for installing rack-mount brackets. Some sources say it's the other way around, that is, the 270G-3 had the rack bracket holes but the 1959 Collins production catalog shows the 270G-3 loudspeaker without the mounting holes for the rack brackets. Also, in the 1959 Collins catalog the 270G-3 is listed as 6-8Z ohms however actual impedance measurements of original loudspeakers will normally show they are 4Z voice coils. Note that this is a nominal impedance shown and that would vary depending upon how the measurement is made, specifically the frequency employed. Figure that the impedance specified is "NOMINAL" and whether the testing shows 4Z, 6Z or 8Z, all 270G-3 loudspeakers sound great when connected to the 4Z output terminals of any 51J receiver. R-388 receivers were generally used for specific military set-ups such as RTTY or other data transmissions where a loudspeaker would be part of a larger, rack-mounted collection of equipment. In addition to the rack-mounting option of the 270G-2, there also was a rack mounted dual speaker system available for diversity RTTY set-ups. There was a USN version of the R-388 referred to as the AN/URR-23-A that came in a standard Collins cabinet, CY-1235/U and included the 270G-3 speaker (mil ID: LS-199/U.) The 51J-2 was also supplied in a similar fashion and designated as the AN/URR-23 (no -A.)

For a vintage mil-rad station, perhaps the easiest speakers to find (that are period and manufacturer correct) would be either the Collins 270G-1, an 8" speaker, or the Collins 270G-3, a 10" speaker. The 270G-1 was typically supplied with the 75A-1 receivers and the speaker cabinet had the Collins "winged" emblem on the front with chrome trim strips with a felt-flocked perf-metal grille (usually a sort of brownish-maroon color.) The 270G-1 also has a serial number tag mounted inside the cabinet showing the model designation and the serial number. The 270G-3 was typically supplied with the 75A-2, 75A-3 and 75A-4 receivers and these cabinets don't have the Collins WE and have black trim strips with an white-cream color felt-flocked grille. The 270G-3 doesn't have a serial number tag and wasn't assigned a serial number. Either of these Collins speakers are fine sounding, communications-grade reproducers and, though usually outrageously expensive, they are easy to find. However, any 4.0Z speaker will function fine with the 51J receivers. There's not too much of an advantage in using a high-quality, large diameter speaker installed in a bass reflex cabinet because the audio output circuitry of any of the 51J Series receivers was always "communications grade" in quality. The audio range available with all 51J receivers lacks any significant bass since the audio output frequency response was rolled-off starting at 200hz on the low end and the upper limit roll-off was at 2500hz while the audio power can only produce about 1.5 watts maximum. Even the latest version, the 51J-4, still has audio that was specified as 200hz at -3db down to 2500hz at -7 db down in the manuals with the 1.5 watts output power maximum (at <15% distortion.) These less-than-impressive specifications will become more and more apparent with better quality, high fidelity speaker systems. Using the 600Z output to drive a loudspeaker through an appropriate matching transformer is also an option. Using a good quality transformer and a typical 8Z or 4Z loudspeaker will result in typical communications audio reproduction. Whenever I've used the 600Z output to drive a 600Z/8Z matching transformer and an 8Z loudspeaker, I've found the audio to sound "thin" and not nearly as "clean" as the 4Z output. I've tried several 51J/R-388 receivers and multiple speaker set-ups and I always have the same results.

With the very late R-388 receivers and all but the earliest of the 51J-4 receivers, the Diode Load was brought out to the rear chassis apron as a test point jack. It would be possible to use a shielded cable connected to the Diode Load and run that to the input of a High Fidelity audio amplifier (using the aux. input or some other fairly Hi-Z input) to drive a quality loudspeaker. You would lose the Noise Limiter function but it was designed for repetitive pulse noise that isn't heard very much nowadays. Also, the 51J-4's 6kc mechanical filter will still be limiting any high quality AM reproduction so very few enthusiasts have bothered with the external Hi-Fi amp set-up. However, it does depend upon what type of stations are listened to. AM Broadcast from local stations will sound pretty good on a J-4 if the receiver is tuned to the carrier plus one sideband allowing the audio to go up to about 6000hz (theoretically,...and since AM-BC stations are limited to a 10kc bandwidth their transmitted audio should only be up to about 5000hz,...theoretically.) Since there's no fading or phase distortion with ground wave signals, this type of reception might benefit from an external audio amplifier with bass and treble controls to enhance the audio frequency response. Any SW-BC or AM ham transmissions will be subject to skywave propagation conditions and lack-luster signal strength that usually seriously affects audio quality. Limitations on any local AM-BC would be in the program material and that's pretty much the same for any AM-BC or SW-BC. 

Since the 51J receivers have always been considered "communications receivers," it's not unexpected that the standard Collins communications-grade loudspeakers, the 270G-1 or the 270G-3, will give the best results when used with any of the 51J receivers.

UPDATED NOTE: On the 51J driving large loudspeakers in bass-reflex enclosures - Nov 2025: I may have to modify what I said about using a 51J receiver with a large speaker not sounding very well. I've had my 51J-3 SN:1999 connected up to a 12" loudspeaker that's installed in a wall-corner-mount bass-reflex enclosure. I have the enclosure mounted up next to the ceiling which puts the speaker enclosure about ten feet away from the listening position with the bass reflex port about 6 feet off the floor. The 12" loudspeaker has an 8Z voice coil and it's connected to the 4Z output on the receiver. I've been listening to this set up for several days now and I'm surprised at how good it sounds. Some bass response,...not a lot,...but certainly some, which is a surprise. The big improvement I think is due to the distance that the speaker enclosure is from the listening position. That distance requires the Audio Gain to be increased a little bit and that helps the bass response. Also, the highs (if there are any) tend to "roll off" with the distance but the lows don't. It's a really nice sounding set up and totally unexpected for a 51J receiver. So, large speakers and enclosures can be beneficial to listening pleasure, even when using a 51J receiver. It depends on the loudspeaker's cone suspension being the older formed paper type and then the location in the room and its distance from the listener. A small table loudspeaker setting on top of the receiver directly in front of the listener at about two feet distance is probably the worst possible speaker location for pleasant sounding audio,...maybe good for weak CW or SSB signals but terrible for mellow sounding AM or music broadcasts.

Cross-Modulation with R-388, 51J-3 and 51J-4 - The first receivers, the 51J-1 and 51J-2, used RF transformers in the Ant/RF input section of the receiver but this resulted in a fixed antenna input impedance of 300 ohms. The Army found this terribly inconvenient since most of their antennae were whip verticals or dipoles with impedances a lot less than 100 ohms, let alone 300 ohms! Collins modified the RF/Ant input section when implementing the changes needed for the R-388 receiver. The change removed the primary winding on the coils and just used a parallel LC for tuning the Ant/RF along with adding an Antenna Trim to allow matching the antenna low impedances better. It all works fine except if there's a really strong RF field present. This could be a nearby AM-BC station or a neighboring ham running a high power transmitter. To have a strong enough RF level that could cause cross-modulation generally requires using a very large random length wire antenna that's directly connected to the receiver antenna input. The receiver's parallel LC Ant/RF input section doesn't have much selectivity and that's why it's possible for cross-modulation to happen if the RF field is sufficiently strong. The Army used mostly whip antennae and so it wasn't much of a problem for them. I've heard about this cross-modulation problem with the R-388 but I've never experienced it. Certainly, in large urban areas where powerful AM-BC stations might be nearby and numerous, along with the possibility of neighboring hams operating powerful transmitters, the cross-modulation issue might be more likely to occur. Using an end-fed wire antenna without any type of matching network (tuner) will contribute to the susceptibility to cross-modulation. Here in Western Nevada, I've always used large wire antennae but I've always used dipoles fed with open wire feedline in combination with a selective type of antenna tuner. I believe that the "tuned" antenna, which is essentially a selective LC combination, adds another "tuned stage" ahead of the receiver to compensate for the reduced selectivity in the Ant/RF input section. Using large broad-band or untuned (non-resonant) antennae might tend to result in the R-388 being more susceptible to cross-modulation. A selective "tuned" large wire antenna seems to work for me. Also, even if I'm just listening to station outside of the ham bands, I'll always "tune" the antenna for that frequency of reception. Again, the tuning and resulting high-Q of the antenna might be why I haven't experienced any cross-modulation issues.

 

General Information on Rebuilding 51J Receivers

Rebuilding Difficulty - The 51J Series are fairly difficult receivers to work on because their construction isn't modular in mechanical design and the receivers will need to be substantially disassembled to work on the commonly encountered problems, including those problems involving the PTO that was used on the R-388. The 70E-15 "M" PTO that was used in all R-388 receivers will almost always require a slight modification of L002 inductor-trimmer to be able to reduce the end-point error to <1kc.

The front panel has to be dismounted and the KC dial has to be taken off to remove the PTO. Working on the R-388 PTO requires careful attention to the delicate parts inside, being careful when working with the four turns of 29 gauge wire that is L002.

The PTO usually must be calibrated for minimum end-point error outside of the receiver on the 51J-3, 51J-4 and R-388. This requires that a jig be made to accurately indicate each full shaft turn (a pointer and a "zero" index line) for a 3mc to 2mc frequency output in exactly ten full turns of the PTO shaft.

The typical 70E-15 "M" PTO is shown to the left.

If work is required in the receiver's front end, it is extremely difficult to access any of the parts in the crystal oscillator section and most of the other front-end sections aren't much easier to get into. Additionally, the wires from the various coils are very fine and easy to accidentally break when doing rework in the front-end of the receiver. Most of the time it's easier to dismount the particular coil assembly for the repair and then reinstall. All R-388 receivers will be MFP'd which adds to the difficulty of rework. The 51J gearbox is complex and rework is difficult.

To take on a poor condition 51J receiver, you should be experienced in complete disassembly and reassembly of advanced vintage communications equipment. You should have professional soldering equipment, be experienced and possess a good soldering technique and only use real SnPb solder. If you're going to work on the R-388s you should be experienced in reworking military equipment that has been MFP-coated. An absolute necessary for working on almost any Collins equipment is the Xcelite 99PS-60 Bristol Multiple Spline Screwdriver 11 piece set (this set includes the extension piece.) This set is expensive at $135+ but it's a "must have" to access many of the Bristol* set screws deep inside the receiver can't be reached unless you have 99PS-60 set. Your test equipment should be laboratory-type although your skill at RF/IF alignment will determine the ultimate quality of the receiver's performance. Modern test gear will make alignments much easier and much quicker. The 51J Series is within the capabilities of restorers who have good mechanical ability and a solid electronics background with considerable experience working on vintage sophisticated communications receivers. Don't be in a hurry and always be thorough.

* Signal Corps manuals refer to these tools as "Bristo" wrenches. That's the only place I've seen that spelling used. Bristol is correct.

Some Thoughts on Rebuilding - Any of the Collins 51J-3, R-388 and 51J-4 receivers, if they have been well-cared-for, will usually operate as found. However, these receivers are probably not operating to their full capabilities and generally give the new owner a feeling that the 51Js are over-rated. Although you won't find handfuls of bad capacitors (as in the early Hammarlund SP-600s) there are several common problems with the 51J receivers now that they have aged for the past seven decades. Probably the most important step is to install good condition tubes and to perform a full IF/RF alignment. These two steps are always required for top performance and the new tubes should be installed and the alignment performed before any critical assessment is made about the receiver's capabilities or any circuit modifications are considered.

However, most of the 51J receivers encountered these days haven't been well-cared-for and most suffer from poor storage and many are compromised by owner-induced abuse (unwarranted modification.) Since most of the receivers were used extensively when new and then were probably stored poorly, you will usually find some mechanical problems that will need to be repaired. Once all of the circuits have been gone-through and rebuilt if necessary and the mechanical issues addressed, a full IF/RF alignment is always going to be necessary. Though not essential, the original alignment tools will make many of the adjustments easier (repro tools were available and they worked great. Can't find anyone selling them now, in 2023. Maybe W3HM, Howard Mills might still have repro tools. E-mail info in References at the end of Part 3 of this web-article.)

Early 51J receivers that use the 70E-7A type PTO usually align easily. There are exceptions and one example I found had a 12kc EPE, however this turned out to be from a partially broken Oldham coupler skewing the EPE mechanically. The ease of adjusting the 70E-7A makes finding an excessive EPE unusual but it can happen. However, all R-388 receivers will have the 70E-15 PTO with the "M" prefix serial number and these PTOs will almost always require a slight modification to the PTO L trimmer coil L002 to function at the design level of performance. The 51J-4 70E-15 PTOs have the "CR" suffix serial number and these types seem to have faired much better and rarely, if ever, require going inside the PTO (this EPE problem is only getting worse as time progresses. Nowadays, even 51J-4 PTOs are commonly found with excessive EPE. Certainly, the ferrite deterioration is an on-going degradation that continues even when the receivers aren't in operation.)

When completed, the 51J Series receivers are fully competitive with any other mid-fifties communications receiver. Highly sensitive, very accurate dial resolution and great selectivity. Note, that high fidelity audio was not included. The 51J receivers have highly restricted audio since they were primarily designed for communications.

Typical "As Found" Condition Issues

51J-1 and 51J-2 - A thought for consideration is that some of the 51J-1 and 51J-2 receivers, have had thousands of hours put on them by former commercial/military users. Many receivers were sometimes roughly treated, carelessly modified and are usually well-worn, needing much more than the usual re-cap and alignment to function at their design level of performance. The 51J-1 and 51J-2 gear boxes had the small drive gears made out of brass where the later R-388/51J-3 and J-4 versions have these small gears made out of steel. The relatively soft brass used on the small gears (under a lot of pressure and working against similar metals) wore quickly and the result is that sometimes the wear on early gearboxes is so severe that binding and jamming are experienced when changing the Megacycle position.

The early IF transformers often seem to sustain internal damage with rough handling of the receiver requiring disassembly and re-gluing of the coils and ferrite shields back into their proper position for correct operation.

The kilocycle dial on the 51J-1 and 51J-2 was photosensitive and would darken (tan to brown) over time if left in the same position and exposed to a lot of sunlight. The J-1 and J-2 kilocycle dial was a three-part laminate with the outer clear plastic pieces not being photosensitive. The white inner piece is what was photosensitive and it might have been a cellulose-acetate material which would explain the tan to brown discoloration that happens. Starting with the 51J-3 and R-388 the kilocycle dial inner material was changed and it isn't photosensitive. Luckily, darkened 51J-1 or 51J-2 kilocycle dials can be replaced with the kilocycle dial from a R-388 receiver. There is a very slight difference in the thickness of the material and the number font is very slightly different but mechanically the two types of dials are interchangeable. Also, there are reproduction R-388 dials (just the plastic disc) from W3HM Radio Labs, Howard Mills.

Add to those 51J-1 and 51J-2 problems, the fact that for the past half-century, most of these receivers have been severely modified both by hams and earlier by commercial technicians attempting to "modernize" the "company receiver." Also, some of the J-1s or J-2s were military R-381 receivers that the Army depots "modernized" without too much concern for appearance, ergonomics, workmanship or functionality. It's extremely rare to find either the 51J-1 or the 51J-2 that's in completely original condition. The J-1 receivers seem to have taken the brunt of this modification mayhem with most examples being totally "hacked" and wrecked beyond restoration. J-2 receivers sometimes surface that are mostly original and are in pretty good, restorable condition, though I haven't seen one in that condition in a long time. The J-2 that I rebuilt fifteen years ago needed a second J-2 to provide a "parts set" to allow selecting the best parts and components between the two receivers to use for the rebuild. Also, the "parts set" was able to supply any missing or destroyed parts. Figure that taking on a J-1 or J-2 restoration will probably require two receivers to make one operational and relatively nice original receiver. NOTE: In April 2023, I found a 51J-1 receiver that was a "survivor." In years of looking at many 51J-1 receivers, I'd never seen one that wasn't totally hacked beyond restoration. This 51J-1 is 95% original and only has a couple of minor electronic-only modifications. The front panel is all original and so is the top of the chassis. So, I can't say that it's impossible to find a nearly all-original 51J-1, but it will take a lot of looking.

R-388, 51J-3 and 51J-4 - The R-388, 51J-3 and 51J-4 receivers seem to be in much better overall condition and usually don't require extensive rebuilding, although there certainly are many exceptions lurking out there. Most component problems and certainly all mechanical problems will be aggravated by poor storage conditions. Fifty years of storage near any coast, in an unheated shed that's also inhabited by the local rodent population (along with copious insect and arachnid ingression) is going to be devastating to all parts of these receivers. Challenging storage conditions can cause irreparable damage to all sheet metal surfaces and finishes. Sometimes corrosion will set up underneath the front panel paint causing "white blisters" to appear through the paint. These "severely storage compromised" receivers have, in reality, slid into oblivion and are really only usable as "parts sets." However, because of the Collins-name, very few of these corroded hulks are ever priced as the "parts sets" they actually are.

For those R-388, 51J-3 and 51J-4 receivers that have faired better, there are still a few things that should be checked, but, most of the problems will be minor, such as defective tubes, filter capacitor needing reforming, poor alignment or other minor issues. Generally, the better the physical condition of the receiver is, the less likely that any serious problems will be encountered. The only exception is the 70E-15 PTO. Nowadays, with the ferrite core contamination with the loss of the vacuum that certainly ALL 70E-15s have experienced over the past 70 years, ALL 70E-15 PTOs won't be able to be adjusted to meet their original specifications. Even the "Orr fix" will only get the PTO close to spec,...maybe.

Capacitors & Resistors - Nearly all of the capacitors used in the 51J front-end and IF sections are tubular ceramic caps which are extremely reliable and never seem to fail. The bypass capacitors are usually paper dielectric types that should be replaced in early versions (some are tub mounts.)

The filter capacitor assembly plugs into an octal socket (except for the 51J-1.) These are dual electrolytic capacitors with 25uf per section used in the 51J-1 and 51J-2 receivers. The R-388 and 51J-4 use either 35uf per section or 40uf per section depending on if the capacitor was ever replaced. Working voltage is usually 450vdc on all types. These are very reliable, well-sealed capacitors that seldom fail. Check for leakage current before powering up the receiver. Capacitors that haven't had voltage applied for decades should be reformed. Leakage current on a reformed electrolytic should be less than 100 uA at full working voltage. It's also possible to use the dual 45uf-450wvdc multi-section filter capacitor from a R-390A audio module. The pin-outs are the same and the physical size, especially the height, is the same as the dual 35uf multi-section used in the R-388, J-3 and J-4. The slight increase in capacitance won't affect operation.

There are also three tub mount electrolytic capacitors used that should be checked carefully. There are also two tub mount 0.1uf dual capacitors that should be checked.

Resistors are generally Allen Bradley JAN-types that are extremely stable and never seem to drift in value - but check them anyway.

Wholesale replacement of all capacitors isn't necessary and isn't recommended.

Dealing with Stuck Trimmers - A stuck trimmer capacitor can be a fairly common problem with almost any of the 51J receivers and is mostly due to decades of poor storage conditions and dirt. The variable trimmer capacitors are integral to their fiber mounting boards in the front-end. "Gunk" gets into the rotor to stator space and sets up over years resulting in the "stuck" trimmer. Do not force any stuck trimmer. Try a little bit of heat using a hand-held heat gun. Only apply the heat for about 5 seconds because not much is needed. Gently try to move the trimmer and it will normally easily break loose. If the trimmer still refuses to budge, apply another 5 seconds of heat and try again to move the trimmer. Usually no more than three times will be required as the heat will melt or loosen whatever is sticking the rotor. Don't apply the heat all at once, gentle persuasion is best. This approach works most of the time and is the safest method for loosening stuck trimmers. You don't want to break the trimmer since they can't be directly replaced without considerable difficulty.

Manuals - If you are working on a 51J-2 receiver be aware that the 1950 version of the 51J-2 manual is fraught with errors in almost every section - almost on every page - almost in every paragraph. The alignment section, circuit description section, the component designations and component identification layouts seem to contain the greatest number of errors. Misidentified components are the most common errors but some alignment procedure errors also exist. How this manual ever got through the proof-readers is a mystery. The 51J-1 manual is probably just as bad, maybe worse. The later Signal Corps R-388 and the Collins 51J-4 manuals are excellent with very few, if any, errors found. However, the R-388 schematic found in some Army TM manuals has several component identification numbers that are transposed, e.g., R102 might be identified as R201. This makes correct ID'ing of components referenced in the text or parts list a little difficult but, once you know about the transposition, write (in pencil) the correction and later identification will be a bit easier. The schematic that is glued inside the top cover of the R-388 is correct. The Navy manual for the AN/URR-23A (R-388) is an excellent, comprehensive book but it does have a couple of photo plates that have erroneous "figure" identifications. I've also found some components in the parts list that have incorrect values shown. Well,...nobody's perfect.

Source for 51J Series Manuals: The best source for online 51J Series manuals that can be viewed and downloaded for free is from jptronics.org that hosts "K4OZY's Collins Repository." All of the 51J Series receiver manuals can be found on this website. They are PDF formats. Search "K4OZY's Collins Repository" and it will come right up.

Parts Availability - At one time it seemed to be impossible to find anyone that was "parting-out" a 51J receiver. No matter how bad the receiver's condition, the seller always believed that it could be restored,...by someone. Things have changed and nowadays (2023) it's fairly common to see many 51J parts being offered for sale, primarily on eBay. Of course, eBay prices tend to be high but, not always, especially when just dealing in parts. Power transformers, chokes, 70E-15 PTOs, dial drums, KC dials, front panels, grab handles, dial escutcheons, meters, crystals, IF transformers, knobs are all often seen for sale. Even 51J-4 mechanical filters show up more often than one would think. Also, repro drum dial overlays are easily found. More difficult items like any of the front-end parts or a complete Crystal Filter assembly or gearbox parts probably would require obtaining a parts set. Some parts are available from W3HM Radio Labs, see References, end of Part 3.

Unnecessary Modifications - There are plenty of modifications that have been published for the 51J Series. A search on the web will result in several to choose from. Nearly all of them are concerned with two areas of the receiver circuit. First is the AVC circuit which many users feel has too short of a release time. However, Collins was very specific as to why the AVC time-constant is relatively short and that was for quick receiver recovery when going from transmit back to receive. In a commercial-military Voice communications set-up with break-in being used, quick exchanges would have been the norm and Collins anticipated that with the AVC time-constant they selected. Additionally, for RTTY, quick AVC recovery is a necessity for accurate copy after a static burst or other interruption of the signal. Yes, you can leave the AVC on for both RTTY and even for CW but you do have to reduce the RF gain as required for the signal level.

The second is the standard diode detector used in the stock receiver which many users want to replace with a Product Detector. The one 51J-4 that I used with the in-circuit Product Detector mod (and AVC mod) still distorted SSB signals if the RF Gain was advanced too far. The object of the mod was to allow the RF Gain to be fully advanced and not distort SSB signals. I thought the receiver functioned much better after I removed these two mods.    >>>

>>>  The usual "ham mod" caveats should be seriously considered before actually corrupting the original receiver circuitry. When the receiver is functioning correctly and in good alignment, the AVC does work fine and so does the diode detector. However, Collins designed the receiver in the late forties, long before SSB transmissions became the standard voice communications mode. When operated as a typical late-forties communications receiver, no serious problems will be encountered with the 51J Series receiver. This means that you will have to reduce the RF Gain when receiving SSB or CW signals. If signal quality is not an issue, the AVC can be left on but, in either case (AVC on or off,) the RF Gain will have to be reduced to about 8 or less for minimum distortion of a typical SSB signal. Of course, signal strength will affect the RF Gain setting for best SSB demodulation. The AVC, the BFO injection and the diode detector circuits are the primary reason that input signal level, determined by the RF Gain, must be reduced so the proper ratio of BFO injection to signal level will result in good SSB demodulation. Additionally, when receiving CW signals with an older receiver, excessive BFO injection into the detector can "mask" very weak CW signals. Maximum sensitivity in CW was always achieved by "riding" the RF Gain control with the receiver out of AVC and the Audio Gain near fully advanced. Additionally, the Carrier Level meter will no longer be useable for relative signal strength measurements when the AVC is in the off position.

The primary reason for the AVC/Product Detector mods is to allow reception of SSB net operations without having to "ride the RF Gain" for every participant in the net roundtable. How much of the receiver operation is dedicated to this type of activity will determine the level of interest in these mods.

More on Mods - The most common in-circuit modification was to replace the 6BA6 BFO tube with a 6BE6 mixer tube and install a few additional components to create a Product Detector for operation with the BFO on - that is SSB and CW signal reception. This was a fairly involved modification that could be accomplished with "no holes drilled" if done carefully. It functioned fine for SSB or CW and it could be relatively easy to reverse and put the receiver back to stock, if that's desired. The mod's origin was from a Bill Orr article "Modifying the 51J Receiver for SSB" published in the February 1978 issue of Ham Radio magazine.

I had a 51J-4 receiver that had the older style receiver circuitry modification (it was something like Orr's mods but not as extensive) and its performance wasn't very good. The receiver still distorted the SSB signal with the RF Gain at maximum (the object of the mod is to be able to run the RF Gain at maximum level with AVC on and have no SSB distortion.) I ended up removing the mod and returning the receiver to stock configuration with much better performance operating the receiver as a typical "late-forties" communications receiver. Additionally, the 51J-4 had the AVC mod that adds capacitance to increase the release time. This was also returned to stock configuration. The person who installed the mods did an excellent job with no damage to the circuit components that remained. I'm fairly sure the mod was working as intended because it did change how SSB and CW could be demodulated but "improvement" would be a subjective judgment.

Nowadays there are "plug-in" circuit boards that allow an easy, non-destructive method to incorporate a Product Detector to many types of older receivers including the 51J Series. Although these PCBs do plug-in, there are a few wires that need to be connected under the chassis but that's much better than total circuit modification. Treetop makes the best of the plug-in Product Detector, AVC units. It plugs into the detector tube socket and has a few wires that need to be connected into the circuitry. This unit also has a voltage doubler that is used for its requirements and has enough current capability to operate K101, the Break-In relay. The Treetop units are made in Canada and there is more detailed information about them on the Internet.

Certainly how you intend to use your 51J Series receiver will determine your interest in any of the published mods or plug-in circuit boards. Certainly the plug-in circuit board approach is best and allows easy installation or removal. Remember that most ham modifications are "amateur-level engineering" and will enhance one area of performance at the expense of another. The circuit altering product detector mods may work fine for SSB or CW and the AVC mods might allow for better SSB response but learning how to operate the stock receiver in the manner in which it was designed will also give you great performance in all modes of reception.

But, if you want the best in SSB reproduction, without modifications, take a look at TMC's MSR-8 500kc IF SSB Adapter  shown to the right.   >>>

Technical Materiel Corp. - MSR-8 - 500kc IF SSB Adapter for the R-388 and 51J-4 - Technical Materiel Corporation made several variations of their popular USN CV-591 SSB Adapter. Nine production versions were given the prefix designation of MSR (Mode Selector Receiving.)

Only one of the MSR SSB Adapters was set-up to work with a 500kc IF output that was available on the R-388, 51J-3 and 51J-4 receivers. That model is the MSR-8.

Of the nine MSR models, two were for 200kc IF, one for 500kc and the remaining six versions all operated on 455kc IF outputs. The MSR-6 shown below is for 455kc. All of the MSR versions are very similar in design and appearance to the CV-591. Any of the TMC MSR SSB adapters are difficult to find since they weren't necessarily on military contracts and, as expected, the MSR-8 is probably the most difficult to find.


The Technical Materiel Corp. - GPR-90RXD SN:126 with matching MSR-6 455kc SSB Adapter SN:126

Another Mod - I've run across this mod once in a while on early 51J receivers, like the J-1 and J-2. These first versions of the 51J receiver had a very narrow IF bandwidth with the spec being around 4 to 5kc at -6db. This selectivity was a deliberate design feature for a receiver that was intended for communication and primarily for RTTY, CW or other data-types of transmissions. The 51J-1 and 51J-2 weren't intended for aural pleasure or for listening to wide audio frequency AM Broadcast transmissions (even though all 51Js do tune the AM-BC band.) Almost all Voice "communications audio" had the frequency response limited to 300hz to 3000hz because that favored typical voice characteristics with the best intelligibility given that most propagation conditions severely hampered Voice comms anyway. However, I've found a few early 51J receivers that have used 2pf to 3pf capacitors connected across the primary to secondary on the IF transformers (pin 1 to pin 4.) This increases the coupling and that broadens the bandwidth. The later R-388 receivers and all 51J-4 receivers had 2pf to 3pf capacitors installed to increase the bandwidth to around 6kc at -6db. The J-4 has mechanical filters for determining selectivity and the increase in the R-388 bandwidth was probably at the request of the Signal Corps (since the caps first appear in the R-388.) At any rate, the 51J-1 and the 51J-2 properly shouldn't have coupling capacitors installed. Yes, the IF bandwidth is pretty narrow but that produces the characteristic "sound" of these early 51J receivers. This is about nostalgia and wanting to experience what the original operators heard when using these receivers,...isn't it? One More Note on the Fallibility of Mods - Bill Orr's Feb 1978 Ham Radio article does have one suggestion that seems like a very easy check and repair if necessary. It involves the RF stage grid bias voltage affecting sensitivity above 15mc. According to Orr, he had checked several R-388/51J receivers and found that many had very high negative bias voltage on the RF stage grid. Orr thought the problem was caused by resistor value of the 820 ohm R149 resistor drifting to a higher value thus increasing the negative bias. Orr suggested that R149 should be changed to 680 ohms for the desired bias voltage -1.4vdc. All very logical,...but should the bias voltage be -1.4vdc? It's the spec out of the tube manual, so it must be correct. Much later, Dallas Lankford (Hollow State Newsletter) tried this mod and found the RF stage gain was increased but the dynamic range of the receiver was greatly reduced with the bias at -1.4vdc (the ratio of noise to signal levels.) His further research indicated to him that the -1.4vdc bias was probably a misprint in the Collins manual that was never corrected and that Collins had actually been using -1.8vdc as the target value. A lot of this was conjecture on Lankford's part and also any improvement could possibly be rather subjective. I have a hard time believing that Bill Orr wouldn't have noticed the change in dynamic range. It's an easy mod to try for a test so you can form your own opinion. As far as a lack of sensitivity,...good tubes, a good alignment and, most importantly, a good antenna will do wonders for the receiver when tuning above 15mc. Also, hearing fabulous DX on 15M or 10M during the summer months is not likely to happen no matter what you do to the receiver or antenna (well,...unless there's a contest going on.)
Lubrication - Unlike the R-390A receivers, with their roller bearings on all of the slug lifter racks, the 51J receivers just use a "rolled-end" on the slug lifter racks to act as a bearing against the brass cams. Where the roller bearings in the R-390A require lubrication with light-weight machine oil, the 51J receivers slug lifter rack ends require a light coating of grease. Any type of "sticky" grease will provide a good reduction in friction and reduce wear to the cams and slug lifter rack ends. Wheel bearing grease is probably a good choice since it's designed for high temperature and for staying inside the bearing. It doesn't take a lot of grease, just a light coat is all that's necessary. DO NOT use Lubriplate. It hardens quickly to become like cement. Carefully apply wheel bearing grease with a very small paint brush so the grease is only placed where needed. Other bearings are Oilite-type shaft bearings that don't really require any lubrication but if you feel it's necessary then only use one drop of machine oil for lubrication. Don't "over-lubricate."


Garolite Alignment Tools - Repros

Necessary Alignment Tools - Most of the time these two Garolite tools are missing from the R-388 and the 51J-4 receivers, which is unfortunate. They work really well, especially the tool for adjusting the ceramic trimmer capacitors. The tool for aligning the IF transformers also is very helpful. At one time, these tools were being reproduced very accurately and were easily available. However, a recent search (2023) on the Internet didn't find anyone selling these reproductions anymore. They may show up on eBay sometimes but I've haven't really seen that happen either. If you find a set, buy them. Or, check with W3HM Radio Labs, Howard Mills might be a source for these repros. W3HM e-mail info is in References at the end of Part 3 of this web-article.

Also, in advance of any alignments, build the series RC shunt for the IF transformers. Use 5" flexible wire leads with small alligator clips on the ends. Since one side is always connected to chassis, only one lead has to be moved. It really eases the IF load set-up. Also, have a series RC load for the antenna built consisting of a 47 ohm carbon resistor and a 100pf capacitor. It connects in series with the RF signal generator output to the receiver antenna input.

Rubber Feet for Collins A-line Cabinets (like those shown in the photo) - If your Collins cabinet has really worn or missing feet that are the type shown in the photo to the right don't replace them with the typical "hole-mounted" rubber feet. The correct rubber feet are actually called rubber bumpers. The originals were 1" in diameter and 0.5" tall with about a 1" long 1/4" x 20 threaded stud secured with an external tooth washer and 1/4" x 20 nut. McMaster-Carr carries rubber bumpers listed as "Threaded Stud Bumpers" but their 1/4" x 20 studs are too short. However, the mounting hole in the Collins cabinets is 5/16" diameter and McMaster-Carr does carry a 1" x .5" rubber bumper with a 5/16" x 18 stud 1" long that will work fine.

The rubber bumper type of feet are found mostly on the 32V transmitter cabinets mainly because of the weight of the transmitter (~90 lbs out of the cabinet.) Some of the receiver cabinets might have hole-mounted rubber feet with aluminum spacers. These cabinets don't have the welded riser mount for the rubber bumpers that the 32V cabinets had, so the separate aluminum spacer had to be used. Since the receiver weight was normally about 35 pounds, the hole-mounted feet worked fine.

Reducing "High Line" AC using a Line Bucking Transformer - The 51J Series of receivers were designed to run on 115vac input voltage. Tube heater voltages and the non-regulated B+ voltage is dependent on 115vac being the line voltage used. Today, line voltages are nearly always minimum 120vac and often run up to nearly 125vac. Short term operation, such as testing or alignment, isn't usually affected by "high line" operation. Long term operation however will affect tube life and the higher non-regulated B+ can cause an increase in overall heat generated. It's very easy to add an external Line Bucking Transformer to lower the "high line" down closer to the specified input AC voltage. Using a 6.3vac filament transformer (that was designed for 115vac primary voltage) will lower the AC line by about 7vac to 8vac, e.g., lower a 124vac line down to 116-117vac. Our AC line here in Dayton is close to 124vac (123.8vac measured 7/29/22) and Line Bucking with a 6.3vac filament transformer lowers the AC line to 116vac. For receivers I use 6.3vac rated at about 3A minimum transformers and for medium power transmitters I use 6.3vac at about 8A minimum. It's not critical since the VA is only for the small voltage drop, not the entire VA the equipment requires. You can always use a larger current-rated filament transformer, especially if you want to use it to supply 115vac to a power strip, just be sure to have a primary switch on the bucking transformer. There are lots of easy hook-ups shown on the Internet (search on "line bucking transformer.") Of course, an autotransformer (Variac or Powerstat) could be used just as easily but filament transformers are plentiful and cheap. Variacs are also plentiful, just usually not cheap. Besides, the Variac belongs on the test bench.

Easy Access to the Crystal Filter - How many times have you wanted to get into the Crystal Filter assembly on the 51J receiver but were intimidated by its lack of obvious and easily removable covers? Well, Jan Wrangel SM5MRQ, decided to get into his 51J-4 crystal filter and took photos to document just how easy it is to gain access to the Crystal Filter components. If the receiver is in a cabinet it has to be extracted out of the cabinet. Then remove the top cover and the bottom cover. From the top of the Crystal Filter assembly a single screw has to be removed. From the bottom, the choke nearest the front of the chassis has to be dismounted (just unbolt the choke - no need to unsolder the wires) to allow access to a 6-32 nut that is underneath the choke (between silk-screened IDs T101 and T102.) This nut mounts the bottom of the Crystal Filter top plate. Once the nut is removed now the top cover of the Crystal Filter can be removed from the top. This allows access to most of the circuitry inside. Reassemble in reverse order when checking, repairs or cleaning have been completed. If further access is required such as removal of the IF transformers inside, then more disassembly will be required. Complete extraction of the Crystal Filter assembly will require some unsoldering work. This procedure is only for simple checking, cleaning and minor repair work to the Crystal Filter. Thanks Jan!  


The photo below-left shows the Crystal Filter after the cover has been dismounted revealing most of the components. The middle photo shows the choke that has to be dismounted. The right photo shows the location of the nut under the choke. This nut has to be removed to allow the top cover to be dismounted.           Photos by: Jan Wrangel SM5MRQ

NOTE: Crystal Filter Alignment - It can be seen from these photos that T101 and T102 have what appears to be a slug adjustment on top and a threaded rod adjustment on the bottom. Each of these IF transformers have only one slug and one adjustment. The top adjustment it easiest to access and is usually the one that's used. The slug also has a brass threaded rod that exits out the bottom and can be accessed from under the chassis, if required. Although it looks like there are two adjustments on both T101 and T102, there's just one slug per transformer that has two methods of adjusting the position of that one slug. T101 is adjusted for peak at 500kc and T102 can be adjusted using a sweep generator to present the IF bandwidth as an oscilloscope pattern. Then T102 is adjusted for the most symmetrical response as the Phasing control is adjusted in position 2. In the USN manual for the URR-23A, an alternate procedure is shown (and it's not in any of the other 51J manuals) that is for adjusting T102 without a sweep generator or 'scope. This procedure has the operator offset the signal generator frequency by 3kc when in position 2 and adjust T102 for the most symmetrical -DCV output on the diode load when the signal generator is alternately adjusted to 497kc and to 503kc or +/- the 3kc. The USN manual does indicate that this is an approximate adjustment of the Crystal Filter.

Alignment Holes for Cam Points for RF-Mixer Cams - If you've ever had the need to check the cam point alignment on the RF-Mixer slug racks and you've read the manual to find what frequency to set your 51J receiver to for cam alignment, then you've discovered that Collins never indicates a frequency. The implication is that if one cam point is showing in one hole, then the other two holes will also show their cam points. Or, you can do multi-step procedure that measures how far the cam riser is for certain cams at certain frequencies and for each of the three cams. There has to be a better way.

Thanks to Oskar SP5LKO, who searched through Hollow State Newsletters and found that Dallas Lankford also researched this problem. Lankford found the 8.300mc is the frequency to set the 51J receiver to and that will have all three cam points showing through their alignment holes.

Note in the photo shown to the right, the cam point alignment holes are only on the front plate of the rack assembly. Also, the three holes are very small, probably about 0.125" diameter. In the photo, the highest frequency cam (16mc-30mc) is pointing to the hole at the lower-right corner of the front plate. The second hole isn't visible in this photo. The third hole can be seen in the background and it can be seen that the lowest frequency cam point (4mc-7mc) is aligned with its hole. The receiver is a R-388 and it's set to 8.300mc. These little holes are not very obvious and, from the front of the rack assembly plate, they are difficult to see. Also, the cam points are difficult to see. Requires a flashlight. Perhaps the intent was to use a piece of 12-14 gauge wire bent at a right angle and then insert the bent end into the hole to act as a "feeler gauge." In actuality, this is just a quick check to see if the slug rack is set up correctly.

Thanks Oskar!

R-388 and 51J-4 Repro Megacycle Dial Drum Overlay - Some of the megacycle dial drums that still have their original band scale overlay appear quite different nowadays than they did when they were new. Many of the original overlays have darkened considerably with their present color ranging from medium yellow to dark amber. The color change is certainly expected and acceptable, if the dial overlay is in otherwise excellent condition. But, many drums will have nicks, gouges, stains, scratches, bubbling and flaking that can range from very minor and perhaps acceptable wear up to a completely destroyed original overlay. Luckily, the new reproduction overlays are very nicely made with real printing, in other words,...not a copy machine creation. The original color was kind of a cream color, that when illuminated with real #47 incandescent lamps, looked a light yellowish-cream color. The new overlay comes with a self-adhesive back to ease installation. The surface of the old drum must be sanded with 400 grit paper to provide a clean and level surface for the the adhesive to adhere to. Prep is all-important. Also, important is to not sand the original drum overlay completely away. Enough has to remain to see where to install the new overlay. Also, a pencil centerline should be lightly marked on the edges of the new overlay from a mid-scale point and also on the drum at the same point to provide accurate alignment for installation. The pencil lines can be erased after installation is complete. Start with clean dry hands (or wear thin cotton gloves.) Start mid-center and work evenly in each direction being careful to avoid air bubbles. Go slowly and carefully because once the self-adhesive glue is in contact with the drum, the overlay can't be removed. As the installation proceeds, a soft paper towel can be used to lightly smooth out the overlay as it's installed. Once the overlay is completely applied and there aren't any air bubbles, the soft paper towel can be used to rub with slightly more pressure for good adhesion. Then the new overlay can be given a few sprayed-on coats of Krylon Clear Lacquer to protect it and, more importantly, to impart the slight sheen that the original overlays had. These repro overlays are necessary to restore a "rough-condition" original dial drum. They shouldn't be used on good condition drums just because of the age-related color change. Original vs Restoration - Data Plates - Some restorations are so good, it's difficult to tell what's original and what has been replaced with good condition parts for another receiver. In most cases, especially when considering components that were always replaceable like tubes, circuit components or some assemblies, it's not important. But, then there are the items that indicate manufacturing date or contract or original end-user. These are the data plates that are so important but many times are missing and other times not seeming to fit the time-line of the particular receiver. Some restorers will install a proper data plate obtained from another receiver and this seems to be no problem in the short-term. But, when the data plate information is later used to try to date some of the manufacturing details, nothing seems to fit with the data plate information. My suggestion (and this is what I do) is to write on the back of the data plate that it's a replacement from a "parts set" receiver and not the original data plate for the receiver that it's installed on. Of course, it does depend on the curiosity of the researcher that they might be interested enough to remove the data plate for examination. Of course, on most R-388 receivers, this happens fairly often to check on what's stamped on the panel under the data plate. Nowadays, with decades of date plate swapping, starting with the Army depots and more recently with careless restorations, many questions arise when the data plate appears original but doesn't match some of the key manufacturing points. Just write "Replacement - Not Original" on the back of a replacement data plate. It might help someone in the future.
 

Rebuilding the Collins 51J Series Receivers
 

1949 51J-1 Restoration

When I purchased this 51J-1 it had already been "gone through" electronically in the form of replacing the electrolytics and a few paper dielectric capacitors. It did seem to function pretty well although there were several minor issues. So, this is going to be mainly a cosmetic restoration - hopefully. These types of restorations are always going to have "surprises" that are found as the receiver is disassembled and even more "surprises" will be found as the receiver goes through the entire electronic process necessary for it to become a fully and correctly operating receiver. Though this 51J-1 is the most original and complete one I've ever seen, it still has some minor modification issues that are both electronic and cosmetic. The length of this write-up will be determined by the number of "surprises" that I always seem to find as any restoration progresses.


1949 Collins 51J-1
 "As delivered." The front panel seems like a "flat finish" but it's just devoid of any luster. The knobs, likewise, are flat and have no color depth. The S-meter has darken considerably from sun exposure. The sunburned KC dial isn't showing in this photo but it is shown in the next photo down to the right.

Preliminary Inspection - Cosmetic Issues

1. Sunburned section of the KC dial - It's severely discolored (not shown in photo to the left.) The discoloration is of the middle section of the three-part laminate making up the dial, so it must have been exposed to bright sunlight for decades. I have a spare 51J-2 KC dial but can't find it at the moment (an extensive search has proven futile.) Repro KC dial from W3HM, installation on original hub write-up at the end of this article.
2. Small dent in the dial escutcheon (by "51J.") This is a minor dent that's only noticeable in certain light or viewing angles. Should respond to bodywork techniques (it did.)
3. The "hold down" assembly for the 100kc crystal is missing. I have a spare assembly from the 51J-2 parts set.
4. Missing trim screws below the tuning knob. These screws are in all 51J receivers and were intended for something that apparently was never installed. The screws just "fill" the tapped holes. I have original spare screws.
5. Darkened S-meter scale. This is the same scale that's used on the 75A-1 receiver. It's not bad but I'll keep an eye out for a spare 75A-1 S-meter to show up some day (or maybe I can recondition this one,...a surprise,...that worked!)
6. ZERO adjust knob is a more modern type. I have several spare original types.
7. Tuning knob and Band Change Knob both need attention. The skirt on the tuning knob is "flat black" - might be paint. Band Change knob needs to have a crank fitted. I might have a spare crank.
8. Dial fiduciary (index line) seems to bend and flex with tuning and especially when adjusting the ZERO ADJ. I have to pull the front panel to see what's going on. I have a spare 51J-2 fiduciary, if needed (the problem was that the dial glass had slipped out of its retaining clips and was allowing the index to rub against it.)
9. Although very minor, the power transformer was painted black at sometime in the past. It wasn't removed from the chassis but was painted in place with a brush. The original color was gray. I'll repaint the same way (turned out looking great.)
10. General clean-up required. Front panel is rather "flat" looking. Just needs some reconditioning. Chassis has a lot, a whole lot, of gritty dirty deposits all over. It brushes off pretty easily. Also some minor pitting that might respond to cleaning.

Preliminary Inspection - Functionality

1. The receiver actually works pretty well but there are several minor problems. They don't really affect the actual reception of signals but are in other areas of performance. Bandwidth seems a lot wider than expected.
2. BFO set up incorrectly. Couldn't select sidebands properly. Easy 5 minute fix.
3. The 70E-7A PTO had an EPE that tested at an incredible 12kc off! I did have to calibrate the 100kc oscillator and then I did verify the results using the HP 606B and DFC. I've never run into a 70E-7A that had this much EPE but maybe it has never been adjusted at all,...ever! If the 12kc EPE doesn't adjust out, I do have a spare 70E-7A PTO that I could use as a replacement (all of the 70E-7A PTOs that I've tested before had an EPE of 1kc or 2kc. The actual cause of this unusually high EPE wasn't the PTO. It's covered in "Another PTO Surprise" further down in this write-up.)
4. This is partially cosmetic but I will be replacing the modern molded AC plug type of power cable with a more vintage-correct power cable. The original AC power cable was a two-conductor, black rubber "zip cord" with a period molded type AC plug installed. Original length was six feet long.  
5. I might do something about the re-cap job that, although excellent work, used the intensely-yellow polyfilm caps. Nice caps but terrible in appearance. I usually paint them dark gray and use color code "dots" for a more vintage appearance. Also, the replacement electrolytic caps might be placed inside the original cans since those are still present.
6. And, speaking of capacitors, someone added 3pf capacitors across the IF transformers. These are "coupling" capacitors that are found in later R-388 receivers and in all 51J-4 receivers. It's possible that someone just copied the J-4 schematic not knowing why the caps are there in the J-4 or it could also be that someone was looking for a broader IF bandwidth. The J-2 (and certainly the J-1) had a very narrow IF passband (4kc to 5kc at -6db) and do have a tendency to sound "muffled." I'll have to consider this "originality versus modification for modern usage" but I think I'll probably go with original and remove the caps.

Both cosmetic and functionality inspections were performed on May 1, 2023

51J-1 showing the "sunburned" KC dial

Disassembly - Thorough cleaning required because this receiver has been somewhere that had a lot of coarse grit that was airborne and was deposited all over the chassis top. Also, several brackets and some screws seem to have a powdery type of corrosion that brushes off easily. This receiver came from New Jersey, so an East Coast "coastal environment" is probable. Mostly just a gritty type of coarse black deposit,...luckily it seems to brush off pretty easily.

Front Panel Dismount - To clean, touch-up and recondition the front panel required dismounting all of the knobs, controls, S-meter, dial bezel and screws. This then allowed complete access to the entire front surface of the panel. Actually, the panel was relatively clean but it didn't have any luster that the St. James Gray wrinkle paint should have. Another thing is the tint of late-forties St. James Gray is a shade or two lighter than the St. James Gray found on the 75A-4 (as an example of the later, darker St. James Gray.) Touch-up has to be custom matched. It does have some earlier touch-up that probably was pre-mixed St. James Gray since it doesn't match very well. Of course, it's possible that most of the early St. James Gray examples I've seen were just somewhat faded with time and exposure to light. Where necessary, I did a touch-up with my "custom matched" paint (this paint has to be matched after the panel reconditioning since the final color is what the "match" is to.) The final part of reconditioning is to give the panel a rubdown using "3 in 1" oil (or any light-weight machine oil.) This is applied with a clean cotton cloth in a circular pattern and allowed to set for a few minutes. Then the oil is wiped off with another clean dry cloth. This is repeated the next day. This treatment restores the wrinkle finish luster in a subtle manner. Not glossy like Armor-All (which is also very slippery) or possessing that persistent, ever-lingering odor of Boiled Linseed Oil.

Nothing unusual was found in the front panel dismounting. All locking washers were present but, in this case, all of the locking washers were on the inside of the panel (not mixed like the R-388s are.) The S-meter has a small tie-point mounted on the upper right stud that should be noted when dismounting the meter. Also, the S-meter was mounted with locking washers but many other screws and nuts didn't have locking washers. Some of the screws appeared to have "green Loctite" applied to take the place of locking washers. Other nuts just appear to have been removed and then replaced with the locking washer left out.

Dial Escutcheon Bodywork - It's fairly difficult to remove a small dent when the surface is painted and has some sheen. The first step is to not be too aggressive. It takes time working in small steps to remove the dent without damaging either the paint or making the bodywork look worse than the dent did. I protected the paint with a heavy paper (a piece of manila folder.) I made sure I was going to work on a flat surface. I used a single layer of blue masking tape to pad the area on the backside of the dent. I used a small wooden block as an interface between the dent and the body hammer. Then, I only used very light taps. This required checking the progress often. Using this method, I was able to totally remove the dent with no indications of any bodywork. The time required was close to 30 minutes which was expected since I really couldn't "rush" this process.

Chassis Cleanup - Lots of gritty, greasy gunk. It's wide-spread and everywhere on the chassis and components. Luckily, it cleaned up very easily using WD-40 as a solvent applied with a small acid brush. I had to do a section at a time which is normal when the chassis is this dirty. I used a short bristle acid brush with a small amount of WD-40 to cut the gritty-grease that had deposited on all of the trimmer capacitor rotor heads. This had to be followed by a wipe down with Glass Plus using Q-tips. This leaves the trimmers clean on top and easier to find the slot when doing the alignment. I don't think the trimmers for the Crystal Oscillator were ever adjusted since they were covered with grease (I might be finding some "stuck trimmers" during alignment - and I did! - a lot of 'em! I used a heat gun to loosen the stuck trimmers.) Once all of the grit and grime were removed then the chassis was again cleaned using Glass Plus to remove the WD-40 residue. All of the tubes had to be removed during this cleaning to allow better access and to check how much gunk had gotten into the tube sockets (they looked pretty clean.)

Lubrication - I cleaned off all of the old grease that should have been on the cams but was spread all over. The gears in the gear box and in the RF/Mixer slug rack gear box had some excess grease but not a lot. Once everything was fairly clean then I reapplied new grease (I used red wheel bearing grease) using a very small paint brush so a minimal amount of grease was applied just where needed. The Oilite bronze bearings don't really need lubrication, one drop of machine oil is enough. The ZERO ADJ shaft needed a drop of oil because it was "sticking" and not a smooth adjustment. The key element in all lubrication is to use the minimal amount and apply only where needed. 

Power Transformer Repaint - The black paint on the power transformer wasn't original and had been applied in the past with a brush. I mixed Artist's Acrylic in a gray color that was matched to the color on the audio output transformer. I also applied my paint with a brush. If brushing is carefully done, it doesn't get paint where you don't want it and, if it does, a little Glass Plus and a Q-tip will remove any accidents. Looks original,...well,... from a distance it looks original (it looks much better than gloss black.)

Front Panel Touch-up - Since I had gray already mixed, I added more a little more black and a touch of green and a dab of light brown and I had St. James Gray. I touched up all of the chips and nicks. The panel paint was in excellent condition but there's always minor touch-ups that can improve the panel's appearance.

Another Dial Bezel - I found my spare 51J-2 dial bezel and compared it to the 51J-1 dial bezel. The J-2 bezel had a pretty deep scuff on the left side that I couldn't really remove with light polishing. The original J-1 bezel, though not perfect, is in better overall condition and it will be used in reassembly.

S-meter Rejuvenation - When dismounting the S-meter, I noticed that the glass was loose. I disassembled the meter and found that the glass retaining ring was installed incorrectly. These are a tight-fit and have to be centered as they are pushed in. This ring was wedged at an angle and not seated properly (in a typical "hamster" fix, glue was applied to hold the glass in place - it apparently worked for a while.) I used a small right-angle tool to pull up on the ring to get it centered. Once that was done, then the ring could be carefully pushed "squarely" into place to hold the glass in securely and permanently.  >>>


Sunburned S-meter Scale

>>>  The scale material was darkened considerably. Sometimes this type of material can be rejuvenated. The first step is to dismount the scale. With the material used for these meter scales, it appears that some of the discoloration is like oxidation and it can be removed,...as long as the ink used for the scale numbers and lettering is not water soluble. Sometimes the following procedure can't be used, especially on pre-WWII types of meter scales. I've had very good luck with post-WWII yellow scales with this gentle cleaning because the inks used by then were much more durable. Working on a flat surface, I first wash the backside of the scale with a Glass Plus dampened paper towel. I'm looking to see how much yellow discoloration comes off. If a lot comes off, then the backside of the scale will lighten up significantly. The next step has to be done carefully because I have to watch the scale ink to make sure it doesn't react to the Glass Plus. I tested it first and the ink was the durable type. I then only used a slightly dampened paper towel and then only applied lightly in a gentle "one way" direction to carefully remove the discoloration. It looked like the scale ink was indeed very durable. I've run into durable ink before with post-WWII meters (I had similar good results with a darkened meter scale on a RMCA AR-8516.) But, I still was careful with this cleaning approach. It lightened up the meter scale considerably. It looks like the typical 75A-1 S-meter now with just a medium darkening that is commonly seen on those receivers. Photo right shows the rejuvenated S-meter (the red is actually slightly more visible than the photo indicates and is almost vivid when the meter is illuminated.)

In addition to cleaning the scale, I also cleaned and polished the meter's bakelite housing. Not "glossy" polished but just a slight sheen that looks like a good condition, clean original housing,...which is what it is, now.


S-meter Rejuvenated

Front Panel Screws - To rejuvenate the "raven finish" Phillips Head screws I use a Black Paint Pen. These little tools dispense actual paint via a felt tip applicator. The screw heads are usually flat, scratched up, gnarled and sometimes oxidized. If the screw head is pretty rough, I clean it with a brass brush first. Otherwise, I'm really just getting all of the front panel screws to look alike as far as finish. First, apply a very light coat of black paint with the paint pen. Then, I use a very short bristle paint brush and, using the end of the bristles, I work the paint into the Phillips slot. Then, I push the screw head onto a clean paper towel to remove any excess paint. The screw head looks black with a slight sheen - not quite flat but close. The screw is then installed and then I move on to the next one. This takes a little while but the results are worth it.

Front Panel Remount - Before the panel is remounted the S-meter must be installed. This allows easy access to the two lower nuts and also easy installation of the locking washers. It's easier to mount the dial escutcheon at this time too. The KC dial has to be placed on the tuning shaft.* As mentioned in other restoration sections, since all of the controls and the harness are not mounted, there's really nothing to support the front panel while these controls are being mounted. I used two wires running from the top hole in the side panels down to the top holes in the front panel. This supports the front panel at about a 90º angle down from vertical. Each control and switch has an internal tooth locking washer against the inside of the panel and a dress nut on the outside. Once the controls, switches, nuts and washers are installed (but not fully tightened yet) the front panel can be moved into position. Remove the securing wires as the panel is guided to fit the Crystal Filter controls through the adjustable plate mounted to the back of the front panel. Also, the CAL adjustment has to be guided through its hole (I just loosened the set screws and slid it back for now.) The front panel should slide into position easily but watch the backside for anything that might be interfering with the proper fit, like the NL switch or wires being pinched or similar. If there's no interference then the panel screws can be installed. After that, the control and switch nuts can be snugged-up. I had to watch that the switches remained vertical so that the shaft flat matches the knob index position. Part of the top of the front panel mounting on the J-1 and J-2 is the Collins Winged Emblem. This is mounted with two nuts and locking washers and secures the upper rail above the drum dial.

* Even though this KC dial is sun-damaged it still is functional and I need to proceed on with the electronic portion of the refurbishment, including checking out the 12kc EPE on the 70E-7A PTO. When a R-388 KC dial is found, I'll just drop the front panel and do a R&R. 

Knob Polishing - This can be tedious work if done by hand. I tried "by hand" on two knobs and the results weren't very good and time involved was excessive. These knobs had obviously been exposed to lots of sunlight for decades and that does something to the bakelite (removes oils or something.) The knobs looked dry and flat with no luster. Polishing by hand helped a little. I decided that a more aggressive approach was required. First, I chucked a 1/4" diameter rod about 4" long into a hand held power driver. Then the knob was mounted with the set screws to the shaft. Next, I used some 0000 steel wool that I had saturated in dark walnut furniture oil (not stain, just old-time furniture polish.) While turning the knob with the power driver, I used the saturated 0000 steel wool to rough polish the knob and skirt (takes about a minute.) Then, I used a cloth that had some polishing compound, Wenol's, on it to further polish the knob and skirt (maybe another minute.) This was followed by a dry paper towel (a few seconds.) Then the knob was removed from the shaft and the flutes hand-polished (about a minute.) The knob was then given a final rub-down with a dry cloth and mounted to the particular receiver control shaft. Total time per knob was about five minutes. About five times faster than polishing by hand and the results were ten times better. (May 8, 2023)

Normally, I don't have to be that aggressive in cleaning knobs but all of the knobs on this receiver were in very poor condition from sun over-exposure. Bakelite knobs that have been in normal interior room environments generally clean up easily with Glass Plus or a warm soap and water soak followed by a brushing to remove finger-gunk from the flutes and then a rub-down with a dry cloth.  

Tube Testing and PTO Surprise - As long as I had already pulled all of the tubes, it wouldn't take much time to go ahead and test them on the TV-7 tester. The receiver had been "gone through" earlier by the seller (I think.) But, I don't know what type of tube tester he used or what the results were. The receiver does function pretty well, so I'm not expecting any "bad" tubes but I'd like to know the actual condition of the tubes that I'm going to install. The test results showed that all of the 6BA6 tubes tested "as new" and the 6BE6 tubes also tested "as new." The 5V4 tested "as new." Two of the 12AX7 tubes tested "good" or about 80% of new. The remaining 12AX7 tested weak and had to be replaced. The 6AQ5 also tested far below minimum acceptable and was replaced. The interesting find was the 5693 installed in the PTO. This is a military/industrial version of the 6SJ7 and the metal envelope is painted red. These tubes were good for 10,000 hours of operation but this one tested at about 75% of new. The 5693 is almost identical to the 6SJ7 differing slightly in the input and output capacitance to shell. I replaced the 5693 with a NOS JAN 6SJ7 tube that tested "as new." My thought was that the PTO was designed for a 6SJ7 and its internal capacitance and with the 12kc of EPE, maybe I'd see a change with the 6SJ7. However, subsequent testing showed maybe a 1kc improvement (which could have been the result of a more accurate measurement.) The test results indicate that at 2.0mc to 3.0mc operation, the 6SJ7 and the 5693 perform identically.

Synchronizing the KC dial to the PTO Using a Digital Frequency Counter - The procedures in all of the 51J manuals were written long before Digital Frequency Counters were even around. The entire alignment section is burdened with these lengthy descriptions of how to use the 100kc CAL and harmonics to verify the accuracy of the alignment signal source, be it the RF Signal Generator or the PTO output. All of these multi-step set-up descriptions can be skipped by just using a Digital Frequency Counter as the measuring device. Using the DFC to measure the PTO frequency directly is much easier and more accurate. As expected, the procedure for sync'ing the KC dial is several steps long and assumes the PTO is in calibration. An easy method is to set the PTO output for 2.500mc measured with a DFC. This is the center of the PTO range. Then make sure the MC dial is exactly at mid-scale, e.g., 8.0mc. Now align the fiducial to vertical with the ZERO ADJ. and then set the KC dial to exactly 0.00 and snug-up the set screws. At this point, the end-point error can be measured. Since I had the front panel off and had the CAL adjustment off, I had to recalibrate the 100kc oscillator before the EPE test. But, an easier, direct and more accurate method is to use the DFC on the PTO output and check the frequency out versus the KC dial readout per turn. With this direct and much more accurate approach, the EPE measured 10kc - still, way out but it's a direct and accurate measurement.

Adjusting the PTO and Another PTO Surprise - When the triangular cover is removed, the trimmer adjustment is easily accessible. There is a 1/4" hex nut or a screwdriver slot available of adjusting. If you're thinking about the 70E-15 and its L002 inductance trimmer, well,...the 70E-7A uses a trimmer capacitor instead. It's actually C-003, the variable trimmer capacitor and C-002, a fixed-C compensation capacitor that's selected during PTO testing at the factory. So, you only have 180º of adjustment and just a little movement of the trimmer rotor does a lot. On top of the PTO is a four pin-inline plug and the left most pin (with the shielded cable) is the PTO output. I used an oscilloscope 10:1 probe so there would be minimal loading going to the DFC. The first test, using the DFC, came up with an EPE of 10kc. I adjusted the trimmer and performed another test and got 8kc EPE, so I was going the right direction but, as said, it's a trimmer capacitor, so I didn't have too much adjustment. At 6kc EPE, I had to readjust "the mechanical readout" so the KC dial was set for 0.00 with a vertical fiducial at midscale at 2.500mc out of the PTO. Another slight adjustment seemed to go the wrong way with an increase in EPE. I checked the mechanical zero and then I noticed that the Oldham coupler had one broken clip and wasn't retaining one of the studs on the ceramic insert the same way with each change in direction. Bummer! I have a spare one of these couplers (from the 51J-2 parts set) and all I really need to change is the fitting on the PTO side. But, the coupler can't be dismounted - not any part of it - out without dismounting the PTO and that's a front panel dismount to accomplish. I played around with the broken coupler and got it to be somewhat secure and was able to get the EPE down to 4kc but anymore improvement will require replacing the broken part of the Oldham coupler. Once the EPE is below about 3kc then the Collins formula that's in the manual can be used to do the final setting in one adjustment. But, before I do that, I'll have to replace the broken Oldham coupler,...ugh!


With the Triangular Cover Removed C-003 is Exposed

Lowering the Front Panel, PTO Removal, Oldham Coupler and More - This is actually not too much work. The Tuning and Band Change knobs have to be removed. The Crystal Filter knobs have to be removed and the BFO Pitch knob has to be removed. Then the six flat head screws, three on each side, that thread into the side panels are removed. The Collins Winged Emblem has to be removed and the MC dial lamps dismounted. I think it's best to loosen the set screws on the coupler for the CAL trimmer and push the shaft out of the backside of the panel (saves the fragile fiberboard flex coupler.) Now, by pulling the front panel slightly forward, it can clear the shafts (the ones that had their knobs removed) and the front panel lowered down being supported by the wiring harness. I had the receiver on its side so the front panel was easily supported by the harness. I had the receiver on its side because the PTO coupler set screws and the KC dial set screws can only be accessed from the bottom.

To dismount the PTO, the KC dial has to be removed. Then there are three screws that mount the PTO. One screw is easy to access but the second screw is accessed through a hole in the gearbox plate. The third screw requires tuning the gearbox to align one of the gears that has a hole that will align with another hole in the gearbox plate and allow access to the third screw. Since total removal of the PTO isn't necessary to remove the Oldham coupler, the top-mounted plug on the PTO connector doesn't have to be removed but the KC dial lamp assembly does have to be pulled out of its hole-mount. Now, the PTO can be drawn back and down a bit at the rear, up slightly in front, but, as said, it doesn't have to be totally removed just to change the coupler. When reinstalling, it's pretty easy to insert the center ceramic piece into the PTO-side hub and then guide the PTO into place making sure that its Oldham coupler piece aligns with the other hub nearest the gearbox. Mount the PTO and push the Oldham coupler together. I had to adjust the hub positions a few times to get everything to tune correctly and not bind. The "key" is to be sure all three coupler pieces are pushed together and that the hubs are about centered on the two shafts. Now, the KC dial can be reinstalled and the front panel put back into place. Next, synchronize the PTO,...again.


The Oldham Coupler - the hub on the right is broken


51J-1 Chassis after cleaning. Power transformer is now painted gray, 100kc crystal "hold down" installed, many replaced tube shields.

Synchronizing the PTO,...again - I can't over-emphasize how easy this is when using a Digital Frequency Counter. It's really one step and it's done - 2.500mc at mid-point on the MC dial and "0" on the KC dial. Also, I should reiterate the necessity of having and using the Xcelite 99PS-60 Bristol Screwdriver Set (includes the extension piece.) Without the extra length of the extension piece plus the length of the Bristol screwdrivers, it would be next to impossible to reach the set screws on the KC dial and on the Oldham coupler. The 99PS-60 is expensive at about $85 but it is really necessary for all types of Collins equipment.

I performed a new EPE check and now the linearity is very good at about 1kc for a 900kc range. The bottom 100kc skews a bit and adds another 2.5kc. This is actually the high frequency 3.000mc from the PTO (which is the lower end of the tuning range on each band.) I tried several other settings of C-003 but those settings increased the EPE. The best I could achieve was to have 90% of the PTO tracking perfectly and 10% being about 2.5kc off. Not bad for a 75 year old PTO. As to the initial 12kc EPE (that I had measured several times with the same result) I think the broken coupler was creating backlash at the PTO that wasn't visible on the KC dial and wasn't felt while tuning. This probably was enough to really skew the testing and give the unusually high EPE results. Also, since the last conversion relies on the PTO to consistently and accurately mix with the selected Variable IF to provide a stable 500kc, now, with the greatly improved PTO stability and linearity, the overall increase in consistent sensitivity is noticeable.   May 11, 2023

Alignment - I can tell the receiver is pretty close to being in alignment (well,...maybe) but I don't think the Crystal Oscillator trimmers were ever adjusted. The ceramic tops (rotor) were covered with grime and gunk that looked like it hadn't been disturbed in decades. The Crystal Filter isn't working as good as it should. So, like the tube testing, I really don't know what was done earlier as far as alignment. If it was done, I don't know the type of equipment used. So, I'll just go ahead and do a complete alignment.

Four of the Crystal Oscillator trimmers were stuck but a little heat (from a heat gun) got them to easily break loose. I checked and cleaned the crystals and the holder (all of the crystals were date-stamped 12-49.) Everything looked okay. Some of the bands didn't show any output on V-102 pin 7 but I still had a signal present at the correct frequency. I used DeOxit and a small paint brush to clean the rotor contacts on the trimmers. This got all of them indicating voltage on V-102 except for the 30 and 20 - the bands work and receive signals but I don't get any voltage indication on V-102.

500kc Fixed IF Alignment - As mentioned in the "inspection" section above, someone installed coupling capacitors on the IF transformers, probably to broaden the IF bandwidth to make the receiver sound more like a "broadcast receiver." I'm going to remove these because I think one important characteristic of the 51J-1 and J-2 is the very narrow IF bandwidth. The other important difference is where T-101 is located in the Crystal Filter housing. Only in the 51J-1 and J-2, T-101 adjustment access is located through the left hole (when viewed from the front of the receiver.) R-388, 51J-3 and 51J-4 have T-101 access in the right hole. The RC load does have to be used for the alignment and the alignment procedure is basically the same as all other 51J receivers. Initial testing determined that the IF was centered at 508kc and the Crystal Filter crystal frequency was 500.6kc which is probably why the Crystal Filter seemed mostly unresponsive. I adjusted all of the IF transformers for 500.6kc and T-101 was also adjusted for 500.6kc. The gain through the IF section increased noticeably and the bandwidth, as expected, was narrowed to about 4kc at -6db. Also, typical of the 51J-1 or 51J-2, the audio has restricted response to higher audio frequencies sounding somewhat "muffled" and this is normal for the J-1 or J-2. Since the Variable IF was probably aligned for 508kc, further alignment will be required.

Crystal Filter - The Crystal Filter needed to be cleaned inside because of a noisy Selectivity switch. The cover is very easy to dismount. There's a 6-32 nut and lock washer under the chassis and a 4-40 screw and lock washer on top of the filter housing. After removing the nut and screw the cover just lifts off and everything inside the Crystal Filter is now accessible. I cleaned the switch with DeOxit and a small paint brush. I also cleaned the contacts on the Phasing condenser. The shaft bearings also needed lubrication. There was a very small amount of dust inside, hardly anything. I reinstalled the cover. Although the manual indicates that only T-101 needs to be peak adjusted, some manuals will also have a sweep alignment for T-102 and the URR-23A Navy manual has the sweep alignment plus an alignment to use if you don't have a sweep generator. The selectivity bandwidth in position 4 seems really tight. There are three resistors that control the bandwidth in positions 2, 3 and 4. Checking the value of these resistors can confirm that they haven't drifted in value (they are A-B JAN resistors so that's unlikely.) Most of the time, guys aligning these older receivers skip the Crystal Filter alignment because they don't believe it's a necessary tool for the AM mode of operation. But, a good condition and properly operating Crystal Filter is a valuable QRM fighting tool, especially in the AM mode!

The calibration procedure for the Crystal Filter that's in the Collins manuals will require using a sweep generator and an oscilloscope of adjustment of T-102. However, in the USN URR-23A manual (it's the only place I've seen it) there is an alternate procedure for T-102 adjustment without the sweep generator or 'scope. It requires monitoring the diode load voltage which can be accessed at the detector output load resistor in the circuitry. With the IF already aligned to the Crystal Filter crystal frequency, then T-101 is adjusted for maximum negative voltage on the diode load. Then, the Selectivity is set to position 2 and the signal generator is set to 497kc or 3kc lower than the IF and the diode load voltage checked. Then the signal generator is set to 503kc or 3kc higher than the IF and the diode load voltage checked. T-102 is adjusted for the best symmetrical response in Selectivity position 2 measured at the diode load. The URR-23A manual does indicate that this is an approximate adjustment and that the sweep alignment is best. Another note,...the Crystal Filter circuit is identical in all versions of the 51J Series, so using the URR-23A procedure will work fine.

Variable IF and RF Alignment - Since the Antenna Input impedance is 300 ohms, and most RF signal generators are much lower than that, a "dummy antenna" has to be used for proper alignment of the input stage of the receiver. The RF signal generator I use is an old HP-606B that has an output Z of 50 ohms,...and that's typical of later RF signal generators. A 270 ohm carbon resistor connected in series between the RF signal generator output and the receiver antenna input will keep the RF load from going lower than 270 ohms and the average Z will probably be around 300Z. I've find that in almost every receiver alignment I do, the ANT/RF input stage must have been aligned without a series load because that stage will be way out of alignment. This series load is mentioned in the alignment procedure, but then,...who reads the procedure? No surprises, these sections were pretty close in alignment with only the Ant section requiring a little adjustment because of the 270 ohm series load.

Finishing Up - I installed the black rubber zip cord AC line cord. This was a vintage piece in excellent condition. The round three-conductor cable that was installed had the wrong size strain relief (too small.) The vintage cord I used had its original molded AC plug - it all looks authentic, especially with the correct strain relief. I installed the bottom cover that didn't have a single locking washer with the nuts and didn't even use all of the nuts necessary. I added external-tooth locking washers and all of the nuts. I also replaced a missing screw/nut/lock washer that was part of the internal front-end shield mounting. All side and back screws and lock washers were missing for the shield mount so the proper hardware was found and these were then installed. Final completion will take place when I find a KC dial from a R-388 receiver. But, I can still use the receiver without any issues while I continue to search for a KC dial or a R-388 "parts set."      May 15, 2023

Performance - With the way that I've set-up this 51J-1 (to have the original specifications) it's amazing how narrow the IF bandwidth is. Easily 4kc at -6db. So, as a result, if an AM signal is tuned "at center carrier" the audio will sound "muffled" - not distorted - but not having very many audio highs. However, just like the 51J-4 with its mechanical filters, audio highs can be recovered by tuning slightly higher or lower than "center carrier." WWV on 15mc pushes the S-meter up to about 20db over S-9. Before, with the ultra-wide bandwidth, signals might have indicated a bit higher on the S-meter and this slightly lower S-meter reading is because of the narrowing of the IF passband and it was expected. I tuned in the Chinese Coastal Beacons on 16.9mc. They aren't particularly strong because of summer conditions but they were heard (they are particularly busy on Friday and Saturday evenings.) Also, 17M hams are easy copy. 20M hams from all over the world are easy to receive and on SSB they sound very nice (of course, the RF gain is reduced as needed.) CW is clean without any distortion. After the alignment, the Crystal Filter now works as it should. As said, AM is limited on the audio highs unless you tune off frequency slightly (maybe 1.5kc higher or lower than carrier center gives nice AM audio reproduction.)

So, the 51J-1 does sound pretty much like my 51J-2 and that's to be expected. Definitely more restricted audio than a R-388 receiver. Sensitivity is the same as any of the 51J Series. As a working example that has been set-up to function like the original versions of the 51J-1 (as they were originally sold,) I can see why there must have been some real excitement at the Signal Corps back around 1948, when Collins provided them with a few examples of their new 51J receiver. The 51J-1 was "miles ahead" of the other receivers that the Signal Corps were testing for RTTY (modified BC-342, modified BC-794, R-274 and the SP-600.) With "to the kilocycle" dial accuracy, super selectivity and no frequency drift, the Signal Corps "had to have 'em" and, eventually, Collins supplied the military and civilians with several types of 51J Series receivers from 1948 up to 1964. 

 
How to Retrofit a Repro KC Dial to the Original KC Dial Hub -  May 30, 2023 -  I purchased a reproduction R-388 KC dial from W3HM Radio Labs, Howard Mills. The repro KC dials are just the plastic disc, so I have to disassemble the original KC dial's hub to fit the reproduction dial to it. Of course, this is a front panel down job and then afterwards a KC dial sync to the PTO. But, it will eliminate that sunburned section of dial that always seemed to be showing whenever I was tuned to something interesting. The following is the procedure I used with photographs to show the parts involved.

The dial is mounted to the three-piece hub by a "rolled edge" of the brass material that creates a "lip" that holds the front flange and two rear pieces, a rear flange and the hub, together with the plastic dial in the middle. There is also a locating pin that is driven in to keep the dial and hub orientation correct. Before removing the hub and flange assembly, be sure to note the position of the locating pin in relation to the dial scale. The correct orientation is important so that the set screws are accessible when synchronizing the dial. This KC dial I'm doing has the locating pin aligned with "35" on the black scale of the dial.

To disassemble the hub, first the locating pin has to be driven out. Use the proper size drift pin (.060" dia) and just tap it out from the rear side with the flange supported by slightly open vise jaws. Once the pin is removed than the rolled edge has to be cut off. I used a Dremel tool with a 1.25" diameter flexible cut-off wheel. The hub should be mounted in a vise and then the Dremel tool cut-off wheel can be gently used, a little material at a time, to remove the rolled edge. If carefully done, very little scuffing will show on the flange part when the rolled edge is removed. With the rolled edge gone, the two pieces of the hub should come apart and the old plastic piece removed. Note that the rear hub is actually two pieces, a rear flange and the hub. Next, a small notch has to be filed on the new dial to the inner part of the hole aligned with "35 black" which gives clearance for the locating pin. Try to match the notch in the old dial for size and placement.

Next, clean up the hub pieces as needed and then try a "dry fit" of the repro dial to see if everything goes together. If the fit is good, then proceed with the reassembly. Now, since the rolled edge has been removed there isn't a way to hold the front and rear hub pieces together. But, epoxy can be used to glue the assembly together. Be sure that the locating pin is aligned properly (in my case, with "35 black.") Very little epoxy is needed (a couple of drops is all) since too much will extrude out as the hub pieces are clamped together. To make an easy clamp that will keep the hub together as the epoxy sets up, use a 2" long 1/4 x 20 bolt with one fender washer with a 1/2" diameter hole, a flat washer and a nut/flat washer. This will provide an easy way to clamp the assembly and be able to keep the rim of the flanges in view to allow cleaning off any excess epoxy that might be extruded out. The fender washer goes next to the front flange part of the hub (the 1/2" hole provides clearance for the hub rim that extends just slightly out the front and the fender washer itself pushes against the front flange.) One of the flat washers goes next to the underside of the bolt hex head. The other flat washer and nut push on the rear part of the hub (see drawing #5 below.) Do a "dry run" on this clamp set-up to see how it works before you apply the epoxy. When applying the epoxy, only use a couple of drops. Any more will be extruded out as the clamp is snugged-up. Before the epoxy begins to set up, install the locating pin (just taps in with a small hammer.) Snug-up the nut on the clamp, do not over-tighten. Just a slight bit more than finger-tight is all that's needed. Check the dial to make sure there aren't any epoxy smears, it's easy to clean off before it sets up. Let the epoxy set up for a few hours. Remove the clamp and the KC dial is ready to install.

KC Dial Hub Differences - This procedure describes a KC dial hub from the 51J-1. Later dials use three rivets and the brass hub doesn't have to be a press-fit (and the edge isn't rolled over.) The procedure for fitting a repro KC dial is basically the same idea except the rivets have to be carefully drilled out. The repro dial has to be drilled if rivets are going to be used. Some restorers assemble using epoxy. Be sure to keep the orientation of the dial scale to the set screw locations correct. Also, if you want to use new rivets then you probably wouldn't need the epoxy. I've included a photo of a KC dial from a 51J-2 receiver (photo #6) showing the minor differences. R-388 hubs or 51J-4 hubs are similar to the 51J-2 hub shown.
 

1

Repro dial on the left. Original dial on the right with sunburned section.

2

Front of J-1 hub. Note the locating pin at the 8 o'clock position
and the rolled edge.

3

Rear of J-1 hub. Note the hole for driving out the locating pin. Hub and rear flange are separate pieces.

4

J-1 Hub pieces removed. Note the locating notch at 4 o'clock in the KC dial hole.

5

I didn't photograph the clamp, so here's an "exploded view" drawing that should help in visualizing how it works.

6

Front and back of the 51J-2 KC dial hub - Rivets instead of a pin, edge of hub not rolled over

Synchronizing the KC Dial - One More Time!!! - Using a digital frequency counter connected to the output of the PTO makes this a simple operation. Set the MC dial to exactly mid-scale, e.g., 8.000mc. The PTO output should be 2.500mc or the exact mid-range of 2.000mc to 3.000mc output from the PTO. Align the KC dial to read "0" exactly and tighten the set screws. That's it. Pretty simple with a DFC. But, what if the set screws aren't pointing down so you can't access them from the bottom of the chassis when the KC dial is at 0? Then use this procedure,...the KC dial is 100kc for one full revolution as is the PTO. So figuring where to set the dial for the set screws to be accessible isn't too difficult. Set the PTO to 2.500mc output. With the set screws loose, rotate the KC dial until a set screw is accessible from the bottom and note where the KC dial is set. If, for example, the dial now reads 8.022mc, you're going to want to synchronize the KC dial to 8.022mc in order to have at least one set screw accessible. Now, set the PTO to read 2.500mc - .022mc = 2.478mc so set the PTO for 2.478mc on the DFC reading the PTO output. Now set the KC dial to 8.022mc. One set screw should be accessible now so tighten it. Now tune the KC dial to 8.000mc (mid-scale) and the PTO should read 2.500mc on the DFC and the KC dial should read "0." Go back and tune the KC dial to access the other set screw and tighten it.

Station Receiver - I've installed the 51J-1 into a Collins A-type cabinet. It's actually a modified 32V-type cabinet but they are very similar looking to an actual 51J-type cabinet. The receiver is paired with a Collins 32V-1 transmitter, an age-appropriate match even though it's a "ham bands" transmitter. This 32V-1 is missing its serial number tag, so I can only guess that it's probably from 1948 or so. It's very easy to set-up the remote standby using a Dow-Key type of T-R relay. The Dow-Key auxiliary contacts can provide the "open" condition necessary for standby when transmitting. Since the remote standby just parallels the front panel standby, I'm just using the front panel switch for that function. The antenna used is the 75M collinear array using a Johnson KW Matchbox as the antenna coupler. The S-meter, like a lot of receivers of the time period, is very generous on 75M with many stations running up to +60db with normal background noise running about S-3. Bandwidth, as expected, is narrow but it allows "zeroing the carrier" for weaker stations for better copy and also "tuning off frequency" about 1.5kc, either upper or lower sideband, for higher frequency audio recovery on strong AM signals. Dial accuracy is right on and frequency drift is not noticeable since the mode is AM. On the Vintage Mil-Rad Net on 75M, all stations are always Q5. I've also monitored SSB transmissions over extended periods of time and have found the frequency drift of the BFO to be negligible.



1949 Collins 51J-1 - Repro KC dial installed

 
 

Rebuilding a 51J-2 Receiver
 

Origin of the Primary 51J-2 - I was initially given a cosmetically very nice 51J-2 by my old ham friend, W7ZCA, Paul Eisenbarth (now SK,) in exchange for re-capping his Collins 75A-4 receiver (this was around 2007.) Paul had been given the 51J-2 at sometime in the past and had done some rework on it. At one point, Paul had the receiver setting on the floor of his workshop with the bottom RF shield off, exposing the ten crystals of the Crystal Oscillator circuit. Paul's young grandson, who was probably about 4 years old then, found the temptation of the small shiny and removable crystals irresistible and pulled all of them out of the holder and hid them around Paul's workshop. This removal and hiding was all accomplished while Paul was off in another room. In fact, it was several days before Paul even noticed that the crystals were missing. Of course that was enough time for his grandson to forget where he had hidden all ten crystals. Paul was able to find a few of the crystals but seven were still missing. A telephone call to International Crystal Manufacturing Company had surprising results. After Paul told the sales person the story of how the crystals came to be missing, they found the story so charming that they sent an entire set of ten crystals for the 51J-2 to Paul - free of charge. Note: Unfortunately, International Crystal Mfg is no longer in business, 2022.

The crystals got the 51J-2 working again but there were other problems that seemed unfixable. The gearbox had severe wear that allowed the Megacycle control to be advanced maybe three or four bands before the gearbox would bind and jam up. You then had to rotate the Megacycle control back a band or two to undo the binding and then proceed forward three or four more bands. It was a cumbersome method but it did allow eventually getting to the desired band. Additionally, the Antenna Coil primary on Band 2 was open due to an excessive amount of RF accidentally injected into the receiver while operating on 160 meters. Paul had obtained another Antenna Coil but it was from a R-388 receiver (which doesn't have the primary winding on the coil.) 

So, that was the condition of the 51J-2 receiver when it was given to me. I tried to use the receiver with the worn gearbox but it seemed like sooner or later (probably sooner) it was going to break something in the gear train. I decided to look for a parts set to rob the gearbox from to correct the problem.

photo above: The 1950 Collins 51J-2 showing the metal dial bezel, the square illuminated Carrier Level meter, the green "ham band" highlighting on the megacycle dial scale and the Collins' winged emblem - all characteristics of the early 51J receivers.  (a 2007 photo)


A 51J-2 IF Transformer showing the coil structure beneath the ferrite shields. The typical problem will have the coil securing glue breaking and then the weight of the ferrite shield pushes the IF coils to the bottom of the coil form. This reduces the coupling between the IF coils and the overall IF gain.

Finding a Suitable Parts Set - After a few months, a suitable 51J-2 showed up on eBay. Nobody seemed interested in it since it was in fairly rough cosmetic condition. The operational condition was described as a "fun radio" - whatever that meant. So, two hundred dollars later I was the owner of another 51J-2 receiver. When the second 51J-2 arrived, I found out what a "fun radio" was - totally and incompetently reworked besides being non-functional with a repainted front panel in black paint with white rub-on lettering. I swear that the eBay photos were of a different front panel (probably a different receiver) but by the time I had the receiver, the seller had already pulled the auction photos (at the time there really wasn't too much a buyer could do except complain or give a negative comment.) It really didn't matter because all I wanted was the gearbox and that was in good shape.

The plan was to use two 51J-2 receivers to build up one nice condition, fully functional receiver. In checking over the two receivers, it seemed easier to use the chassis of the second receiver as the starting point and rebuild the entire receiver using the best parts from both units. This allowed me to skip the tedious removal of the gearbox which certainly would have resulted in several extra steps to synchronize the switching.

The second receiver had been incompetently reworked and several of the front end coils had broken wires that were their connections to the trimmer capacitors. Also, all of the high quality tubular ceramic capacitors had been replaced with cheap disk caps. I decided to strip out the receiver from the front of the IF section back to the audio output and start over. I reinstalled the high-quality tubular ceramic capacitors harvested from the first 51J-2. I rebuilt the entire front-end of the receiver to repair the many broken coil leads. I had to replace the third conversion input coil because it looked like it had been burned. All parts used were either new parts or good ones harvested from the first receiver.

Once the electronic rework was complete, the front panel, the knobs, the megacycle drum dial, the meter and many other parts were transferred from the first 51J-2 to the new rebuilt receiver. I ended up with a great looking, complete 51J-2 - but how did it work?

Troubleshooting - Upon power-up the new rebuilt 51J-2 seemed to be working fine. I performed an alignment and the receiver worked fine - or did it? After about 30 minutes of operation the sensitivity dropped down to where signals barely moved the carrier level meter. From the start, the audio would distort if the RF Gain control was higher than 8 when in AVC. Clearly, there were a few more bugs to work out before the receiver could be called "complete and working." However, other projects came into the shop and the 51J-2 was put on the shelf and temporarily forgotten.

In fact, "temporary" ended up being about three years before I got back to the receiver. I had recently been told that Paul W7ZCA had become an SK and that had me reflecting about all of the "deals" we had exchanged over the years. I remembered the 51J-2 and thought that I should probably finish that receiver since it was such a nice looking example of a fairly rare Collins. This was in September 2010.

The strangest problem was the erratic variable gain of the receiver. When on the bench in the normal position the gain was down but when the receiver was placed up on its side to troubleshoot the gain would then be somewhat normal. I could even tilt the receiver about 20 degrees and get the gain to go up and down with just a slight change of the angle - weird.

To narrow the problem down I used a clip lead type scope probe and measured at various points in the receiver while tilting the receiver back and forth on the bench. I had to inject a fixed-level signal into the receiver's antenna input so I knew the variations in the gain were occurring because of a fault and not the signal level changing. I could see the gain change problem was occurring just past the first IF amplifier tube. All components and the tubes had already either been checked or replaced except the IF transformer itself. I removed the IF transformer cover and discovered that the coil and the ferrite shields were at the bottom of the mount and loose. Apparently, moving the receiver around changed the position of the IF coil which changed the coupling and resultant gain. Upon removing all of the IF transformer covers, it was discovered that every IF transformer had loose coils, loose ferrite shields or both. Complete removal and rebuilding of all of the IF transformers was necessary. I used epoxy to secure the ferrite shields in position. I actually used the IF transformers from the first 51J-2 because they were in better overall condition but still required securing of the ferrite shields to prevent future problems. Upon power-up, I had more gain through the 51J-2 than ever before and an IF alignment only improved the response.


photo above: The 51J-2 after rebuilding - Sept 2010

 
1950 51J-2 Installed in a Collins cabinet (2013 photo)

Although I thought that the IF transformer problem solved everything that was wrong with the 51J-2, I soon discovered that the AVC would cause distortion after several minutes of operation. I had already replaced all of the tubes in the receiver with a set that checked fine on the TV-7 tube tester. However, you can't find all tube problems with a tube tester. Once the AVC started to cause the distortion, I replaced the AVC amplifier tube with no change in the problem but changing the Dectector/AVC Rectifier tube cleared up the problem. I had already rebuilt that entire section of the receiver so I was sure the problem had to be tube related.  NOTE: Most of us don't leave the "tube being tested" installed in the tube tester long enough for these types of problems to develop. With enough time in the tube tester, I'm sure the tube problem would have become apparent. Fortunately, these types of tube problems are uncommon.

An additional problem was only on the AM BC band or Band 1. Low gain was the result of a defective mixer coil that appeared to have gotten very hot. Fortunately, the first 51J-2 receiver provided a good condition coil. These coils are easy to replace as they are only held in place by two tangs that have to be pushed inward to dismount a coil and "snap" into place when installing the coil into the mounting hole. The wire leads are the same diameter as the coil wire itself and the connections to the trimmer capacitors are fairly delicate so care must be taken in the removal and installation.

A full IF/RF alignment had already been performed early on the receiver and a quick touch-up was all that was necessary for top performance that is at or better than the original specs. Audio is fairly nice as I did replace the .01uf across the audio output transformer with a .0047uf to increase the high frequency audio response (I may change this back to .01uf in order to maintain the original "51J-2 sound" - Jun2023.) I usually run the Collins 270G-1 loudspeaker with this 51J-2 and that gives just a little bass discernable on strong SW BC stations or AM BC stations. Reception of ham AM stations benefit with the increased audio highs with better intelligibility. But, the 51J-2's audio is still communications-grade, not high fidelity.

Photographic Details on the 51J-2 - Five Photos

1.

2.

1. The top of the chassis of a 51J-2 receiver showing the earlier 70E-7A PTO. Under the metal shield on the PTO is a metal octal 6SJ7 tube. In front of the PTO tube is the glass holder for the desiccant that protects the PTO from moisture ingression. Otherwise the receiver is very similar to the later 51J-3 and R-388 receivers.     2. Close-up of the 70E-7A PTO

3.

3. The back of the 51J-2 showing the unique slanted top cover that is used on all of the 51J Series receivers. The top cover must be installed even if the receiver is installed into a cabinet. The top cover shielding eliminates the spurious oscillations that will be tuned at various frequencies throughout the tuning range ("birdies.") Note the ID plate - this is NOT standard. The ID information is typically silk-screened to the rear of the chassis. This particular 51J-2 had holes drilled thru the information so a suitable "data plate" was made from the derelict "parts set" 51J-2 chassis. The original AC line cord was a two conductor black rubber "zip cord" but nearly all receivers will be found with a later heavy-duty power cable installed (as shown.) 

(All five photos shown were taken in Sept 2010)

4.

4. The underside of the a 51J-2 receiver showing the smaller bottom shield that only covers the front-end of the receiver. Note that the bypass capacitors have been replaced on this 51J-2 while the .01uf tubular ceramic capacitors are still in place.

5.


5. One common problem encountered on the 51J-2 receiver is inside the IF transformers. The entire lower coil and ferrite shield have loosened and have slid down to the bottom of the transformer. This reduces coupling and output level of the transformer. To correct, the IF transformer must be removed, the coils put back into their proper position and then secured with epoxy to prevent future movement. Rough handling of the receiver such as "slamming" in down on a work bench or dropping it from a foot or so down onto the pavement at a swap meet is the probable cause. Out of six J-2 IF transformers inspected, from two different receivers, five transformers had this problem.

 
 

 CONTINUE to Part 3                             GO to Part 1                                         Return to Home Index  

 

 

Radio Boulevard
Western Historic Radio Museum

 Vintage Radio Communication Equipment Rebuilding & Restoration Articles,

 Vintage Radio History and WHRM Radio Photo Galleries

1909 - 1969

- 60 years of Radio Technology -

 

 

This website created and maintained by: Henry Rogers - Radio Boulevard, Western Historic Radio Museum © 1997/2026